Showing 78 of 78on this page. Filters & sort apply to loaded results; URL updates for sharing.78 of 78 on this page
What is Visual Design? — updated 2026 | IxDF
Comprehensive Guide to C4 Model Architecture Diagrams with Visual ...
E2B-M18KS08-M1-B1 Omron Inductive Proximity Sensor Specs
Visual bug? Am confusion | Facebook
What Is a Proximity Sensor? Types, Applications, and Key Points for ...
Copy My Expert Posture Example To Reset Your Golf Swing And Improve ...
Proximity Sensor Applications: Common Uses in Automation
Now Available: 2026 Global Forecast Report - Visual Capitalist
Information Design: Best Practices For Visual Communication | Ecommerce ...
Free Circle the Same Size Worksheet - Visual Matching (PDF)
How to Set Up Visual Alerts for Audio Notifications on Windows 10 and 11
Artists reveal how music and fandom shape visual creativity
Smart card buyers focus on visual appeal and rarity
Combating Visual Neglect and Semantic Drift in Large Multimodal Models ...
Helping Kids Learn Better at Home with Simple Visual
NVILA: Efficient Frontier Visual Language Models
Minimize Threats In Project Management PPT Example AT
How to create SQL Server connection strings in Visual Studio ...
Visual Studio 2026: How AI Is Transforming the Way Developers Code ...
Google Brings Colab Integration to Visual Studio Code - InfoQ
Visual Reporting System | Brimco
Inductive Proximity Sensors FAQ: Accuracy & Interference Guide
How Do I Run C Code In Visual Studio Dibujos Cute Para Imprimir
Hot make make Custom Proximity Prompt in Roblox Studio tutorial # ...
10 Drama Korea Terbaru April 2026, Bertabur Visual IU Hingga Go Youn Jung
2026 Ao Nang Travel Guide | VISUAL THAILAND
Zebra Bi Charts Custom Visual For Financial Reporting In Power Bi
What are the Gestalt Principles? — updated 2026 | IxDF
Audacity en 2026 – parte 2: instalación, configuración y exploración ...
《捕鱼游戏破解版无限金币钻石》捕鱼游戏破解版无限金币钻石HD中字.1080P无删减
Creative candle painting tutorial🕯️🎨
Easy DIY paper chains tutorial🥕
Vintage cake decorating tutorial that feels timeless and elegant
27 Best Tattoo Studio Website Examples 2026 - Colorlib
Minimalist Interior Design 2026: 20 Inspiring Examples & Ideas
10 Brand Storytelling Examples to Shape Powerful Narratives
Lists Explained With Beginner Examples | Python Lists Explained Tutorial
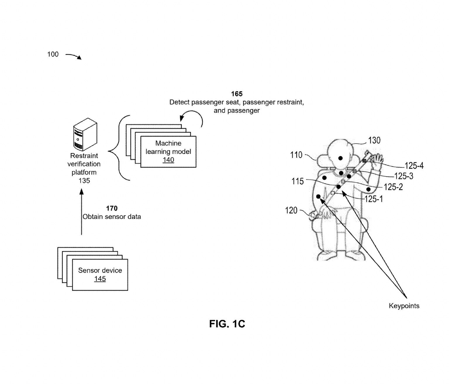
New Disney Patent Shows How AI Could Soon Improve Ride Safety and Load ...
Iden Studios Akure, Ondo Wedding and Portrait Photography Studio
Meta engineer's Wembley home post reignites India property debate
Parcoursup Design: Find your school
4 Prinsip Desain CRAP PowerPoint: Rahasia Slide Mahasiswa Pro ...
vivo NEX Dual Display - Full phone specifications
21 Examples Of Bad Websites 2026 - Colorlib
Storytelling Marketing Examples: 15 Best Cases
Optical Illusion Eye Test: You Have 5 Seconds To Spot The Odd 24 Out ...
Google Gemini Image Generation Tutorial: Create Stunning AI Images ...
Tutorial: Scatter Grass in Blender (No Add-on)
15 Best Architecture Websites 2026: Design Examples + Success Metrics
n8n AI Automation Workflows: Step-by-Step Tutorial (2026 Guide ...
350+ Resume Examples for Every Type of Job
The Sun and the trio of eclipses that will revolutionize classrooms ️ ...
How to Draw Cartoon Character Lifting Up Paper At the Bottom of the ...
Tutorial de diseño de flor con puntada simple 🌼
Python Automation Scripts Explained Tutorial With Examples
Star Tutorial: Master Video Star App | TikTok
Power BI Dashboards - Free Examples | ZoomCharts
What Is Modulation Transfer Function? | Keysight
7 Marketing Tech Stack Examples to Inspire Your 2026 Strategy ...
Optimization of Lamp and Fan Production: Tutorial 10 - Studocu
15 Rebranding Examples: The Truth Behind The Pivot In 2026
Handmade rose bracelet tutorial🌹
Nusa Penida: Why This Hidden Gem is Bali's New Must-Visit Destination ...
West Unity man indicted on rape, child-related charges | wtol.com
Mastering Gospel Piano: A Soulful Tutorial for Beginners
Mastering Azure AI: A Comprehensive Tutorial for Beginners
Refraction | Definition, Examples, & Facts | Britannica
Unleash Your Creativity: The Ultimate iMovie Video Editing Tutorial
Wedgwood, Peter Rabbit Calendar Plate | Replacements, Ltd.
Printable Dot to Dot by Color Recognition Preschool Worksheets
Wasit Wanita Tersandung Skandal Seks, Mengklaim Videonya Hasil AI
Hello World Program - Tpoint Tech
Mastering Figma UI Design with a Complete Guide to Design Systems ...