Showing 120 of 120on this page. Filters & sort apply to loaded results; URL updates for sharing.120 of 120 on this page
Example | C3.1 Shear Flow | Solid Mechanics II
Solved Example 8 Determine the shear flow distribution and | Chegg.com
Solved Example 9: Calculate the shear flow in the following | Chegg.com
Shear Flow Example 1: Solid Mechanics-1 (SM-1) - YouTube
3.13 Worked Example Problem Determine the shear flow | Chegg.com
Shear Flow Example | Shear Stress | Function (Mathematics)
Solved 6.4 Worked Example Calculate the shear flow | Chegg.com
Solved Example 17.6 Determine the shear flow distribution in | Chegg.com
Mechanics of Materials: Lesson 39 - Shear Flow Introduction, Example ...
Shear Flow Example from notes - YouTube
Lec19c, Shear flow example - YouTube
Shear Flow In Composite Beams at Todd Reno blog
Question 3 | C3.1 Shear Flow | Solid Mechanics II
PPT - 7.4 SHEAR FLOW IN BUILT-UP MEMBERS PowerPoint Presentation, free ...
Find the shear flow in each web of the beam shown, | Chegg.com
Mechancis of Materials Example: Shear Flow - YouTube
Solved Shear Flow The boards are bolted together to form the | Chegg.com
Question 2 | C3.1 Shear Flow | Solid Mechanics II
Advanced structures - wing section, beams, bending, shear flow and sh…
(Solved) - Calculate shear flow and shear force in the walls of the ...
Solved Simple Shear Flow between parallel plates with | Chegg.com
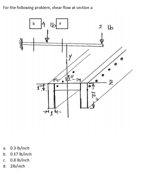
Solved For the following problem, shear flow at section a b | Chegg.com
Solved Calculate the shear flow for the following | Chegg.com
Shear Flow Explained at Jason Rico blog
Shear Flow Calculation:
What Is Meant Shear Flow at John Mellon blog
How to Calculate Shear Flow - YouTube
Solved 3. Discuss shear flow and its relation to shear force | Chegg.com
Solved Determine the shear flow distribution in the | Chegg.com
Solved Calculate the Shear flow distribution in the section | Chegg.com
Solved Problem 1 Find the flexural shear flow distribution | Chegg.com
Chapter 7: Shear Stresses in Beams and Related Problems | PPTX
Theory | C3.1 Shear Flow | Solid Mechanics II
Solved Problem 2 - Shear flow in beams (20 pts.] 36 22 M 22 | Chegg.com
Shear flow in cracked reinforced concrete composite section | Eng-Tips
Solved Problem 4. Shear flow in a closed rectangular section | Chegg.com
Beam Shear Flow Equation - The Best Picture Of Beam
Solved Calculate the Shear flow distribution in thin walled | Chegg.com
Solved Example: Calculate the shear flow distribution in the | Chegg.com
SOLVED: (a) Calculate and sketch the shear flow in the idealized ...
Solved Problem 1 Draw the shear flow distribution for the | Chegg.com
Solved 4a. Determine the shear flow distribution (q12, q23, | Chegg.com
Solved Determine and sketch the shear flow distribution in | Chegg.com
Shear Flow Calculator - Calculator Academy
Solved Shear Flow and Shear Centre of Thin-walled Closed | Chegg.com
Problems and Solutions for Shear and Moment Diagrams in PDF Format
SOLVED: 3.(15 pts) Stiffened Shear Web. Find: The shear flow in each of ...
What Is Shear Flow In Solid Mechanics - Design Talk
To determine the shear flow variation along the web, isolate a section ...
SOLVED: Texts: PROBLEM 1 (a) Determine the shear flow distribution in ...
Solved Shear Centre & Shear Flow problem:Determine the | Chegg.com
Fig. 8.41. Shear flow in the thin-walled double-box section. 8.3.9 ...
Solved For the following problem, what is the shear flow at | Chegg.com
Problem on Shear flow in built up beam section - YouTube
Solved N.A. ---------- N.A. - used to determine shear flow | Chegg.com
Shear Flow in Solid Mechanics - EngineerExcel
Solved Sketch the shear flow distribution along each segment | Chegg.com
SOLVED: Calculate the shear flow distribution in the section of ...
Solved Problem 4. Calculate the shear flow distribution | Chegg.com
Solved 110 pts] Determine the shear flow distribution of the | Chegg.com
Solved -40- mm Problem 2: Determine shear flow at points A | Chegg.com
Solved 1a. Determine the shear flow distribution (q12, q23, | Chegg.com
Illustrative Examples: Solving Shear and Moment Diagram Problems
Solved Problem No. 1 1000 lb a. Find the shear flow | Chegg.com
Solved 1) Draw the shear flow in this cross section. What is | Chegg.com
Solved Q1/a- Find the shear flow distribution for the thin | Chegg.com
Shear Flow in Beams | PDF | Science & Mathematics
The final shear flow pattern is shown above. The following solution ...
Solved P.21.3. Calculate the shear flow distribution and the | Chegg.com
Solved Determine the Shear flow distribution in the web of | Chegg.com
Question 4 Shear Flow and Shear Centre of Thin-walled Closed Tubes A ...
Solved Calculate the shear flow distribution and the | Chegg.com
Solved Example iE SOLUTION APPROACH: . Determine the | Chegg.com
On A Selfsustaining Process In Shear Flows Physics Of
PPT - AERSP 301 Shear of beams (Open Cross-section) PowerPoint ...
Problem-2. (10pts) Shear flow/stress of cross-section with rectangular ...
Solved Determine the shear centre and the shear flows in the | Chegg.com
Solved Problem: Free shear flows are thin viscous shear | Chegg.com
Shear Force in Fasteners:
Solved 1 Shear Flow with Different Wall Thicknesses: | Chegg.com
Solved Problem 2: (a) Determine the shear flows for the | Chegg.com
Solved 2 Shear Flow in Open SectionWe will revisit the | Chegg.com
Determine the shear stress and shear-flow distribution over the cross ...
Solved Probs. 7-54/55 *7-56. A shear force of V=300kN is | Chegg.com
Illustrative Shear Diagrams
Solved 150. A shear force of V=300kN is applied to the box | Chegg.com
Shear Flow, Shear in Beams - Structural Engineering - YouTube
Example 1 The beam shown below is made of wood and is subjected to a ...
Solved QUESTION 2: Find the shear flows in all webs of the | Chegg.com
SOLVED: The I-beam section shown in the figure is subjected to a shear ...
1. Simple shear flow. | Download Scientific Diagram
Solved Problem 3. In viscous flows, the shear stress | Chegg.com
PPT - AE1302 AIRCRAFT STRUCTURES-II PowerPoint Presentation, free ...
PPT - Shearing Stresses in Beams and Thin-Walled Members PowerPoint ...
PPT - Strength of Materials I EGCE201 กำลังวัสดุ 1 PowerPoint ...
E XAMPLE P ROBLEMS
Solved 6. A beam with the cross section shown is subjected | Chegg.com
Answered: Problem 1: Consider the idealized… | bartleby
Solved 3. Consider a beam with a cross-section as shown in | Chegg.com
Solved 2. Consider a beam with a cross-section as shown in | Chegg.com