Showing 120 of 120on this page. Filters & sort apply to loaded results; URL updates for sharing.120 of 120 on this page
Circular iris coupled rectangular waveguide three-resonator filter ...
Simple rectangular filter in the frequency domain was chosen for this ...
Solved a) Design a FIR filter using rectangular window with | Chegg.com
Schematic of a rectangular filter channel | Download Scientific Diagram
Figure 3 from Rectangular waveguide filter design using hybrid finite ...
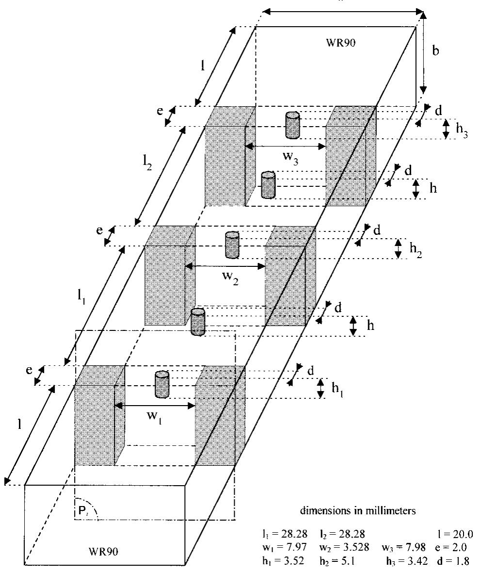
Figure 1 from Rectangular waveguide filter design using hybrid finite ...
illustrates the similarity between the smooth rectangular filter ...
Figure 1 - from New rectangular waveguide filter design with
Ideal Rectangular Pulse Filter - Shape input signal using ideal ...
Solved 4. In the time domain, a rectangular window filter is | Chegg.com
LP Rectangular Filter (LPF) - INTERCONNECT Element – Ansys Optics
Filter configuration in rectangular waveguide | Download Scientific Diagram
Design of FIR filter using Rectangular window - YouTube
Bandwidth-limited channel modeling: (a) Rectangular filter in Section ...
BP Rectangular Filter (BPF) - INTERCONNECT Element – Ansys Optics
(PDF) Complex rectangular filter design using hybrid finite element ...
Design of Fir Filter Using Rectangular Window Method - Caruso Whadven
A rectangular filter in the signal and idler arm cuts the JSA and lets ...
FIR Filter Design by Windowing: Concepts and the Rectangular Window ...
Design and Optimization of Rectangular Waveguide Filter Based On Direct ...
Configuration of the proposed filter with rectangular groove and ...
Schematic of a filter with rectangular geometry | Download Scientific ...
Water Filter Design Calculations at John Mccloud blog
Multi Media Filter Calculations Guide | PDF | Filtration | Process ...
(PDF) Reconfigurable Rectangular Filter With Continuously Tunable ...
Solved FIR Filter Design 9. Using a rectangular window of | Chegg.com
(a) Signal modes with respect to the applied rectangular filter in Fig ...
Rectangular Optical Filter (OBP) - INTERCONNECT Element – Ansys Optics
Rectangular Filter - Statistics.com: Data Science, Analytics ...
Filter Chart Calculations | Download Table
Geometry of a rectangular waveguide filter periodically loaded with ...
View all Dimensions for Rectangular Air Filter
Dual mode rectangular cavity filter structure. (a) cavity.
Cascaded Rectangular Cavity Filter
Dual‐mode rectangular cavity filter in [30] | Download Scientific Diagram
(a) Structural diagram of the proposed rectangular lattice filter ...
Solved Using rectangular window filter, please calculate and | Chegg.com
Calculation of the integral image rectangular filter. | Download ...
Rectangle filter used to calculate the time derivative of the ...
Example of the obtained FIR filters and the approximated rectangular ...
Solved 10. Rectangular Waveguide Filter. Design an | Chegg.com
Solved Determining the filter type for Figure 2: 1. Show | Chegg.com
FILTER SIZING CALCULATION | Growmechanical spreadsheets
How to Calculate the Quantity of Filter Media Required for Vessel
Mira Pro x64 User's Guide - Rectangle Filter
Low Pass Filter Calculator - Used Keysight Equipment
How Do You Calculate Filter Size at Cecila Whitworth blog
RC Filter Calculator: A Simple Tool to Design Your Resistor-Capacitor ...
BAYUELSWU 118" x 79" x 26" Rectangle Foldable PVC Pool with Filter Pump ...
Rectangle filter used to smoothen the entropyvalues | Download ...
Cartridge Filter Design Calculation at Jennifer Vidal blog
Using a Rectangular window method, determine the | Chegg.com
7 Scanning process to determine the filter width (rectangular red ...
Rectangular tank | Eng-Tips
Coupling Matrix Filter Design at John Triche blog
Lc Pi Filter Calculator
A, Top view of the proposed filter; B, Proposed filter's rectangular ...
Filter Shape Factor and Bandwidth Explained | RF Wireless World
LC Filter Calculator
An analytical approach to the design of multiple mode rectangular ...
(a) The comparison between rectangular waveguide and the proposed ...
Basic principle of a rectangular-shaped 2D filter implementing 1D ...
5 Best Free Online RC Filter Calculator Websites
Online Filter Calculator: Filter Design Tool – WARRMX
Parametric to Rectangular Calculator
Rect Filter (Custom IQ)
Rectangular Duct Filters - Superior Air Quality | Alnor
Choosing the Right HVAC Air Filter? Master Sizing Calculations First
Solved Use the rectangular window method to design a linear | Chegg.com
Filter Calculation 01 | PDF | Chemical Engineering | Chemistry
Dual Media Filter Design Calculation at Robert Locklear blog
Solved 1. Using the filter tables in Chapter 5 of your text, | Chegg.com
How FIR filters work | Applying the filter - How the Fourier Transform ...
What to Consider When Purchasing Rectangular Air Filters
Filter defined by 40 consecutive applications of a 5-element ...
Rectangular filters | ATARO
Sizing of RG Filter | PDF | Fluid Dynamics | Flow Measurement
Rf High Pass Filter Calculator – GSET
Passive Filter Calculator RC, RL, LC - Xtronic
Solved determine the area of each filter cell and the plan | Chegg.com
Rectangular presentation of filters. | Download Scientific Diagram
How To Calculate Air-To-Cloth Ratio In Bag Filter Pdf at Ilene Haase blog
Rectangular Tank Measurement at Kristie Rhodes blog
Lc Filter Ripple Calculator at Declan Thwaites blog
Rectangle Filter
Rectangular- and Gaussian Low Pass Filtering — Object Recognition Lecture
Recognition Part II: Face Detection via AdaBoost - ppt download
PPT - Comparative Analysis of Face Detection Methods using Features and ...
Solved In this and following problems, R= rectangular, H= | Chegg.com
Understanding HEPA Filters: The Key to Cleaner Air
Generic Rectangle Calculator - OmniCalculator.tech – Best Free Online ...
Final dimensions of Filters A, B and C. (unit mm). | Download ...
What is a low-pass filter? - Education - DigiKey TechForum - An ...
Pool Volume Calculator - Pool Shop Gold Coast
Air Flow Conversion Calculator Tool | Filters Direct
BER with Matched Filtering - DSP LOG
Example rectangle filters shown relative to the enclosing... | Download ...
Distribution System Harmonic Evaluation – Power Quality Blog
Rectangle and triangle filters. | Download Scientific Diagram
The selected rectangle filters in our method. The up-down rectangle ...
A Complete Guide to Camera Lens Filters | PetaPixel
Rectangle To Diameter Calculator – UMMLR
Square/Rectangular Filters - Wessex Photo