Showing 119 of 119on this page. Filters & sort apply to loaded results; URL updates for sharing.119 of 119 on this page
Laser Welding Machines for Precise Metal Joins | Engineering 💡 posted ...
Best Very Small Allen Keys for Tiny Fasteners and Precise Work – Handy ...
Ratnaveer Precision Engineering surges 32% in 8 sessions; should you ...
SHINING 3D EINSTAR Rockit for Industrial Engineering | 3DxWorld
Small brush fire at Jesse Engineering, Tacoma WA | CrimeRadar
Small caps, big moats: Decoding Mukul Agrawal’s bet on precision ...
Adaptive Product Engineering → Area → Sustainability
Mechanical Engineering – Automation & clamping technology for large ...
CNC Machining Pune | R. M. Engineering Works
5 Signs Your Engineering Firm Is Ready for BIM | BuildSoft
Managing Thermal Expansion in CNC Parts | Engineering Guide
Modern equipment innovations in civil engineering
The Importance of Prompt Engineering - Paradigma
Fast, precise and wear-free process for laser drilling of carbon fiber ...
Gala Precision Engineering IPO Subscription Status
NTUA The School of Chemical Engineering ranks 1st in the global Chem-E ...
Pre-Stuxnet fast16 Malware Discovered Targeting Engineering Software
Precision Cooling for Cleanrooms That Works - Easy Cool Engineering Pte Ltd
L16 - Sensor Fixings & Accessories | Banner Engineering - Kaufetronics ...
Choosing the Best 3D Scanner for Small Parts: An Industrial Metrology Guide
Is Rapid Prototyping a Real Engineering Role? - ANEBON METAL
IPOs Next Week: Ratnaveer Precision Engineering IPO, 3 others to open ...
Master your engineering labs with smart prep
Azad Engineering inaugurates 7,600 sqm manufacturing facility in ...
304 Stainless Steel Ruler High Precise Single Side Thickened Metal ...
Monica Norris - Mechanical Engineering World | LinkedIn
Innovation News - Page 4 | Interesting Engineering
Ratnaveer Precision Engineering IPO Listing: Shares have positive debut ...
A precise measurement method for better diamond coatings
Fitment Engineering | Mandaluyong
Precision engineering company doubles in size after opening second site ...
Inside the WELLCAMP Factory: Precision Engineering & the Power of ...
Cherry XTRFY Reveals New Precise K5 Pro TMR Compact Keyboard
Musical Fidelity’s integrated amplifiers deploy high-end engineering ...
Cryogenic Globe Valve Stem and Plug Design for Precise Throttling
Civil Engineering Knowledge | Master Structural Engineering: From ...
Automotive Engineering | HOW CAN I MAKE VALVE CLARENCE | Facebook
Engineering resumes that truly get noticed
Optikos joins Artemis portfolio to drive optical engineering growth ...
Bharat Forecast System: India launches world's most precise weather ...
Vertiv buys thermal engineering specialist as data centre liquid ...
AI is rewriting the rules of engineering design
What Are the Challenges for Small and Medium-Sized Enterprises in ...
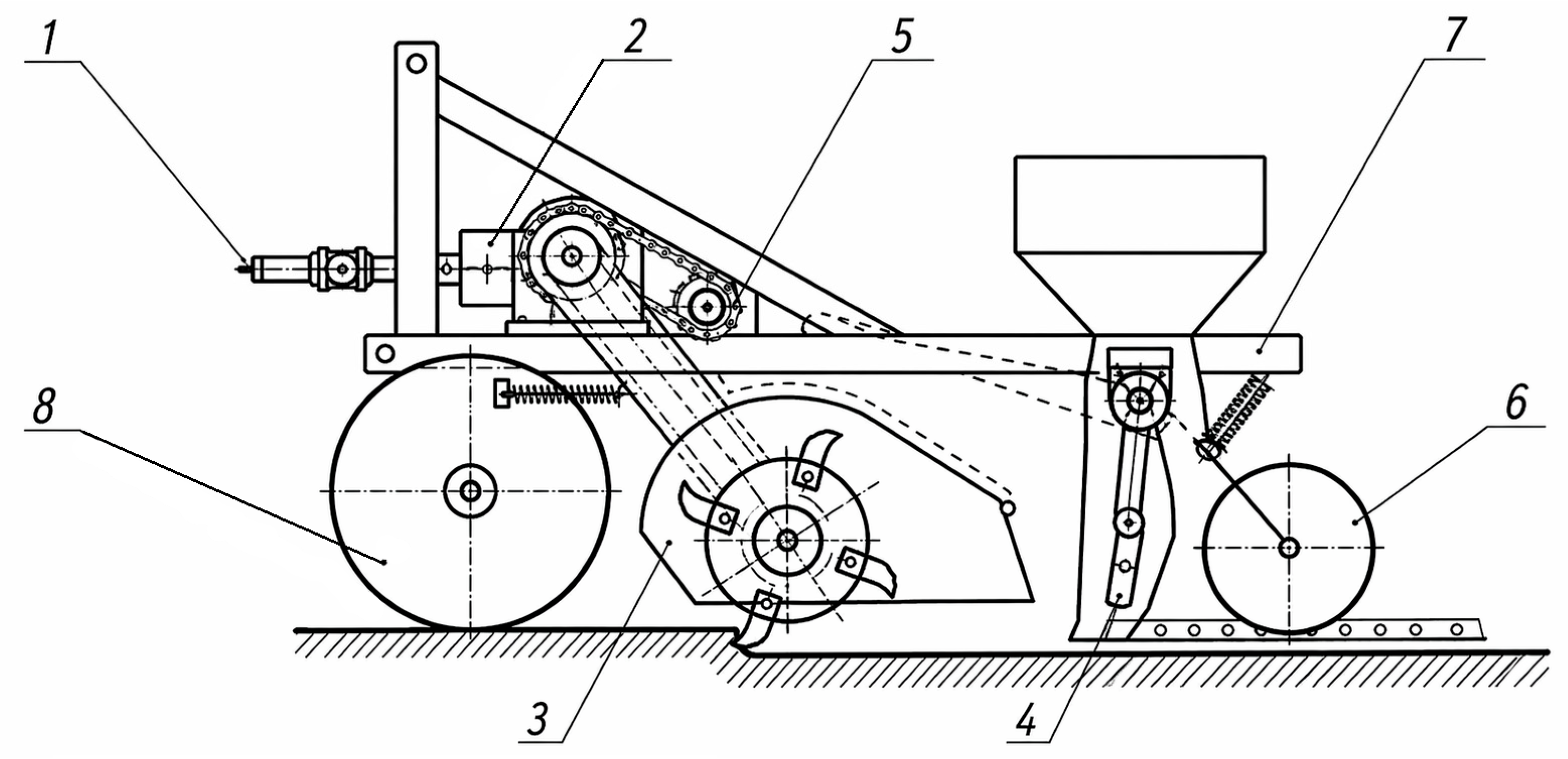
Engineering Optimization and Field Validation of a Low-Traction Rotary ...
Anime-inspired robotics reshape real-world engineering and design
Engineering Water Thrills With Endless Surf - Construction Business ...
Amazon.com: Daviky Pill Cutter Splitter for Small & Tiny Pills, Dual ...
Gala Precision Engineering IPO listing date today; GMP, experts signal ...
Work with us | Shopify Engineering - Shopify
Hormel Foods has entered into a... - Food Engineering | Facebook
Singapore Airshow 2026: ST Engineering debuts small, explosive payload ...
BB Engineering to showcase PET textile recycling tech at PRSE 2026 ...
Ternus the Page: Apple's Engineering Prodigy Takes the Reins - The ...
Mini rolling pin gains popularity for precise pastry work
AI-trained physics models reshape engineering workflows
25 times ancient engineering blew our minds: unbelievable fe
Erozione con EROWA – Soluzioni precise per l'erosione a tuffo e a filo
Microscopic shellfish unlock Twelve Apostles' precise age | The ...
Pre-setting Systems – Precise Setup & Measurement for Efficient ...
Acoustic Engineering
New guides and tools reshape prompt engineering practices
Plant... - Institute of Cell Biology and Genetic Engineering | Facebook
How AI Is Rewriting the Core Abstractions of Software Engineering - DEV ...
Civil Engineering Forum | 🏗️ Precision in Every Detail: The Core of ...
Precision Marker Making → News → Sustainability
Why Precision Matters in Measurement: Accuracy, Examples & Importance
Precision meets adrenaline 🔥🚤 Turning scale models into real-life ...
The cheiroballistra was one of the Roman military’s most intimidating ...
CNC Machining Vs Manual Machining: Why Global Brands Choose High ...
Precision CNC Machining Parts: Tolerances, Materials, and Capabilities
Precision Turned Components at ₹ 600/piece | Computer Numerical Control ...
Why precision tools are worth every penny
Portable Precision for Shop-Floor Metrology: Finding the Best 3D ...
We're a small, lean, quick turn prototype manufacturing company. We ...
Prompt 55 Create a Vintage Blueprint Timeline Infographic Poster By ...
Precision CNC Machining Services UK | High-Spec Components
Transition to Electric Heating → News → Sustainability
Industrial Precision Machine - Coloring.app
LiDAR for Flood Risk Mapping: Boosting Infrastructure Resilience with ...
What Is the Impact of Local Cloud Cover on Energy Yield? → Learn
Common Mistakes Encountered in High-Precision Plastic Injection Molding
How Do Precision Agriculture Techniques Support Sustainable Yield? → Learn
Duroxen Compact CNC Lathe with Pro-Level Precision by Duroxen ...
Challenges of Transitioning from Civilian to Defense Careers: Key ...
Waste-to-Inventory Strategy → News → Sustainability
Home - Robota Industries
Miss Orange Juicy's 'Drip Drip (Slay!)' bottles confidence into ...
AuX Labs Raises $4M to Advance Commercialization of Precision ...
Additive Manufacturing: Roles for 3D Printing and Robotics in Food ...
2524318-10-H | SERVO RSA-10AD1 Overhauled Precision Airmotive - Air ...
STAYGROW 1 x Straight Garden Shears, 6.5 Inch Sharp Plant Shears for ...
115 in 1 Magnetic Screwdriver Set with Case, Precision Repair Tool Kit ...
Taiwanese optical film could boost precision in affordable 3D printing
The Evolution of Precision Manufacturing Through Advanced Cutting ...
Applicability of Rumen Bolus Sensors in Sustainable Precision Livestock ...
Using heat for a precision fit
Inside Validyne Manufacturing: How Precision Manufacturing Improves ...
Jual MH-ET LIVE Omnidirectional Microphone Module I2S Interface INMP441 ...
telangana precision engineering: Latest News & Videos, Photos about ...