Showing 120 of 120on this page. Filters & sort apply to loaded results; URL updates for sharing.120 of 120 on this page
Machine Tool Carriage Encoder 6 Posion 8 Positon 12position - Robot ...
Position Encoder Solutions - ADI | DigiKey
Position Encoder Systems | Analog Devices
Position magnetic encoder for robots by RLS
Types of Encoders: Rotary, Linear, Position, and Optical Encoder Types
Angle Position Encoder – Inductive Angle Encoders – MGNAR
Measure and control the Conveyor Movement using Encoder as feedback ...
Industrial Encoder - Position Encoder Latest Price, Manufacturers ...
Rotary Optical Encoder Calculator – WATQVT
Position Encoder Deep Dive: New Measurement Techniques Drive Data Formats
Position Encoder - YouTube
Encoder position sensors | Power & Motion
Digital position encoder (absolute) with 0.5 deg resolution
Encoder, Rotary Encoder, Absolute Position Encoder - Encoder and Rotary ...
Amazon.com: Encoders Rotary Encoder 5pcs 360 Degree Rotary Encoder EC12 ...
Priority Encoder - Electronics-Lab
building a absolute position encoder from scratch - YouTube
What is the Rotary Encoder and How is it classified?
High Accuracy Optical Position Encoder Automation Encoder for Position ...
Position Encoder at 9000.00 INR in Faridabad Haryana | World Tech
What is a working principle of digital position encoder
Absolute Magnetic Encoder with Display for Automotive Encoder Position ...
How to get optical position encoder quotation?-Hengxiang Optical ...
What is a position encoder and how is it used in medical devices ...
Figure 1 from Sine Encoder SinCos Transducer Position Interface ...
Technovision CNC | Position Encoder
Positon Sensor Impulse Rotary Sincos Incremental Encoders - Buy Sincos ...
Absolute Photoelectric Encoder Based on Position-Sensitive Detector Sensor
Encoder Selection - Part one: Properties | maxon group
Encoder Zero Position at Pamela Sheehan blog
Grid-based Positional Encoding. We adapted the positional encoder from ...
Transmitter and receiver configuration for inductive position encoder ...
Position indicator / LCD / encoder / battery-powered - RITM Industry
Position encoder - Eureka | Patsnap
Magnetic Encoder Provies Absolute Position Feedback | Machine Design
POSITAL Encoder Magnetic Technology - YouTube
Autonics Rotary Incremental Encoder ENC-1-1-T-24 | Industrial Rotary ...
Baumer EAM580R-BAC.7LC6.14180.A Absolute Encoder - 11189207 at best ...
How to Read Encoder Pulses in Fatek PLC | Position Control Full ...
New generation: FG(HJ) 40-2 incremental rotary encoder now available ...
DF-48986 Mutoh — VJ-1204 CR Encoder Assy | DG Spare Parts
Position Encoders | Measuring Position with Encoders | Dynapar
Position Encoders to Nail Servo Control
Basic Rotary Encoders Guide - Definition, Types, Features & More
Position Feedback | What You Need to Know - ADVANCED Motion Controls
Position Encoders
Understanding Positional Encoding in Transformers and Beyond with Code ...
Single - NUM
USE CASES-Acquisition of position encoders
Encoders for position and motion control
Position Sensors for Industrial Applications Based on Electromagnetic ...
5 Important Factors When Choosing Position Encoders for Satcom ...
Linear Position Encoders | FibreOptics
Designing and manufacturing position encoders.
Position Sensors - Choosing the right sensor - Zettlex Inductive Encoders
Encoders & Position Sensor Systems for Motors & Machines | Emco Precima
POSITAL kit encoders for cost-effective position control of stepper motors
Position Sensors & Controls
Understanding Sinusoidal Positional Encoding in Transformers | by ...
POSITION ENCODERS IN INDUSTRIAL CONTROLS for the PLC TEST RIG - YouTube
Numbering Systems | IT Information Technology
Encoders | ADM Instrument Engineering
quality Roatry Encoder-newest linear encoder-optical encoder-Yuheng Optics
Position Encoders | PDF | Computer Engineering | Electronic Engineering
AS CNC Solutions Pune, MH, India
Key positions on encoders | Control Design
Posital - Kit Encoders
POSITAL launches new generation of Kit encoders
Transformer 模型中的positional encoding(位置编码)计算理解 - emanlee - 博客园
Position Absolute Encoders at ₹ 8500/piece | Ludhiana | ID: 2854205796162
Positional Encoding. This article is the second in The… | by Hunter ...
Understanding Transformer Positional Encodings - A Mathematical Deep ...
Challenges for Position Encoders in Harsh Environments - FLUX GmbH
Positional Encoding - 知乎
SICK DFS20A-A4B1D000900 Incremental Encoder, Male Conn, Radial, 32V ...
SICK DFS20A-A4B1E000900 Incremental Encoder, Male Conn, Radial, 32V ...
Industrial Measuring Tool Ifm Electronic E60110 Measuring Wheel ...
Safety encoders for mobile machines - ifm
HEXEH 1000mm Range Draw Wire Displacement Sensor - String Potentiometer ...
Ns737S-d Positioner 0.2-1.0 Kg/Cm2 Nakakita Seisakusho - Aeliya Marine Tech
SAC-4P- 5,0-PUR/M12FS Encoder/Resolver Cable by PHOENIX CONTACT
Wir stellen ein: Jurist Legal Tech & weitere Positionen
Eye Rod End Sensor LVDT Linear Position Sensor - 100mm Range, 12.7mm ...
AMI Labs just raised $1.03B. World Labs raised $1B a few weeks earlier ...
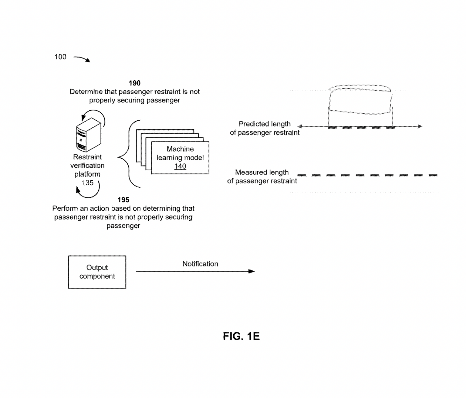
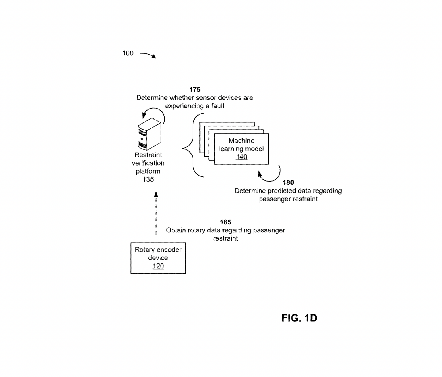
New Disney Patent Shows How AI Could Soon Improve Ride Safety and Load ...
3.2 Transformer全貌及代码实现 - AIInfraGuide
Central Motor for Industrial Doors: What It Is, Parts, and How It Works
RS PRO | RS PRO RTL Series Potentiometric Position Sensor 28V dc, 6 mm ...
12V 120RPM High Torque Worm Gear DC Motor - Speed Reducer For Robot ...
College/University Admission - Cebu | hello everyone may I ask lang if ...
IrriFrance Center Pivot Irrigation Systems & Solutions | IrriFinder
Siemens SINAMICS S120 Fault F07453: Meaning, Root Cause Analysis, and ...
RollerCAN Unit — UIFlow2 Programming Guide master 文档
Ultrasonic Grid Mapping: Create 2D Map with Arduino Robot - Zbotic
3kW Electric Vehicle Motor Controller, 24V at best price in Chennai ...
Lenovo Legion M300s - Mouse Comparison - EloShapes
Noir S1 - Mouse Comparison - EloShapes
Search for: