Showing 119 of 119on this page. Filters & sort apply to loaded results; URL updates for sharing.119 of 119 on this page
Alignment with the Point Source Microscope (PSM) - YouTube
Optical alignment using the Point Source Microscope – Optical ...
Lens Centering Using The Point Source Microscope - Optical Perspectives ...
The Point Source Microscope (PSM) - Optical Perspectives Group
What is a Point Source Microscope (PSM) - YouTube
Point Source Microscope (PSM) | Armstrong Optical
PPT - Paper Synopsis: Lens Centering using the Point Source Microscope ...
What is a Point Source Microscope (PSM)? - YouTube
Prism Alignment Using A Point Source Microscope - Optical Perspectives ...
(PDF) Lens centering using the Point Source Microscope
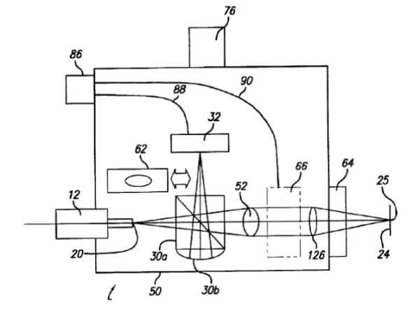
Ray path in the Point Source Microscope (PSM) showing how the point ...
How Well Can the Point Source Microscope (PSM) Locate the Source of a ...
(PDF) Optical alignment using the Point Source Microscope
Optical Alignment Using The Point Source Microscope – Optical ...
Measuring a radius of curvature with the Point Source Microscope (PSM ...
Starting the Point Source Microscope (PSM) software and focusing on a ...
Point Source Microscope | Optical Perspectives Group LLC | Optical ...
Contact microscope using point source illumination - Eureka | Patsnap
Figure 2 from Low-energy electron point source microscope as a tool for ...
Alignment of spectrometers by utilizing a point source microscope. (a ...
What is an Autostigmatic Microscope (ASM) and the Origin of the Point ...
What is a Point Source Microscope, or PSM? - YouTube
Set-up of point projection microscope (PPM). | Download Scientific Diagram
Point Source Technology
A Canadian open source two-photon microscope system – Labrigger
Natural Light Source Microscope XSP-1CA
Microscope light source - MG120 - Micro-shot Technology Limited - LED ...
Microscope light source - MG100 - Micro-shot Technology Limited - LED ...
Understanding Point Sources and Point-Spread Functions in Microscopy ...
Performance of a Reflective Microscope Objective and Thin
点光源显微镜(PSM,Point Source Microscope)-产品中心-朗信(苏州)精密光学有限公司
PSM (POINT SOURCE MICROSCOPE) - 株式会社清原光学
Stereo Microscopes - Stereo Microscope | 爱特蒙特光学
Optical microscope - ML51-N - Micro-shot Technology Limited ...
global sources Smart Series Biological Microscope Instructions
A high performance, cost-effective, open-source microscope for scanning ...
These Everyday Items Look Completely Different under the Microscope
AmScope 25pc Prepared Glass Microscope Microbiology Slide Specimens wi
MSHOT New Smart cell factory microscope 🔬 MIX60-CF arrives! 1️⃣ Optical ...
Microscope Cameras – P2 Innovation
Government’s housing record under the microscope - The Royal Gazette ...
BROWNING John 1876 inv 617 - Histoire du microscope
Dust Control in Powder Handling Starts at the Source - PowderTechnology ...
Interference Microscopy
Shop - Optical Perspectives Group
Figure 2 from Development and Deployment of a Point-Source Digital ...
Laser Microscopy - Laser Scientist
What is a Single Shot Microscope?: UPSC Current Affairs
광학 현미경 | 현미경 용어 사전 | KOREA KEYENCE
35-48-Piece-of-Microscope-Specimen-Slide-Biological-Prepared-Digital ...
How To Shoot Product Shots: 3 Cheap And Easy Setups | Cinematography ...
Ultra-high spatio-temporal resolution imaging with parallel acquisition ...
transform this photo into a professional studio product shot place the ...
Abouts - Fluorescence and Biological microscopes | MSHOT
Single-Shot Intensity- and Phase-Sensitive Compressive Sensing-Based ...
New Report Claims Mike Vrabel and Dianna Russini May Have Overlooked a ...
Used KLA-Tencor Corp. SpectraShape 9000 for Sale at Tara Semiconduc...
House Committee Requests Testimony from ActBlue Executive amid Scandal ...
Xdinary Heroes Confirm April 17 Comeback With Mini Album ‘DEAD AND ...
Philadelphia Eagles Weigh Risk and Reward for Alabama Tackle Kadyn ...
NBA Playoff Betting Analysis: Anthony Edwards Rebound Props and Thunder ...
Premium AI Image | Product shots of Photorealistic Product shot
5 Common PCB Soldering Defects and How to Detect Them Early
Wolves - where did it all go wrong? Part 2: Leadership | OneFootball
Hot Seat? Jets' Aaron Glenn Under Fire Heading into 2026 Season
Forensic Science Flashcards | Quizlet
product shots of Photorealistic Product shot 30674534 Stock Photo at ...
SORDALAB
News | Catholic Connect
product shots of Photorealistic Product shot 30674640 Stock Photo at ...
product shots of Photorealistic Product shot 30674481 Stock Photo at ...
product shots of Photorealistic Product shot 30674328 Stock Photo at ...
product shots of Photorealistic Product shot 30674298 Stock Photo at ...
product shots of Photorealistic Product shot 30674503 Stock Photo at ...
product shots of Photorealistic Product shot 30674348 Stock Photo at ...
product shots of Photorealistic Product shot 30674707 Stock Photo at ...
product shots of Photorealistic Product shot 30674336 Stock Photo at ...
product shots of Photorealistic Product shot 30674563 Stock Photo at ...
product shots of Photorealistic Product shot 30674460 Stock Photo at ...