Showing 120 of 120on this page. Filters & sort apply to loaded results; URL updates for sharing.120 of 120 on this page
OFF STREET PARKING AND LOADING
Better Market Street Loading | SFMTA
Second Street Loading Zone | designLangley
ARTICLE VI. OFF-STREET PARKING AND LOADING STANDARDS | Henderson County ...
11-07-03: OFF-STREET PARKING AND LOADING STANDARDS:
Illustration of minimum offstreet loading requirements in NewYork and ...
ARTICLE 22. OFF-STREET PARKING, LOADING AND UNLOADING REGULATIONS ...
article 24 off-street loading regulations
What Is A Commercial Loading Zone at Hayden Cutlack blog
Chapter 14.12 OFF-STREET LOADING AND PARKING
1307 Parking and loading standards | Phoenix Zoning Ordinance
Chapter 5: Passenger Loading Zones
Passenger Drop-Off and Loading Zones | UpCodes
Loading and Unloading Zone Signs
The dos and don'ts of loading zones | Driver Training | The NRMA
Chapter 17.57 OFF-STREET PARKING AND LOADING STANDARDS
17.60 Off-Street Parking and Loading Regulations
Passenger Loading Zones | UpCodes
Township of Northville, MI Off-Street Parking and Loading
Notice Loading and Unloading Area Signs in Australia | GET SIGNS – Get ...
Loading And Unloading Bay Rules at Chloe Shipp blog
Entrance to a designated off-highway loading area in which waiting ...
The Ranty Highwayman: Practical Loading
December 2023 | Breaking Boundaries | Compliance with Loading Zone ...
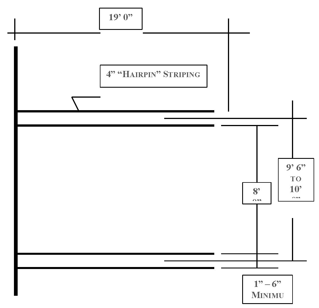
124 4. OFF-STREET LOADING
Loading Guide – Loading Plans | NHVR
Chapter 15.90 OFF-STREET PARKING AND LOADING
Chapter 9.32 PARKING AND LOADING STANDARDS
Loading bay with seven off-street parking spaces. | Download Scientific ...
Chapter 17.54 PARKING AND LOADING
On-street unloading area Figure 2: Off-street loading bay | Download ...
Figure 2-11. Typical loading area for medium size trucks
Chapter 17.24 OFF-STREET PARKING AND LOADING
Managing loading and unloading zones brings significant benefits ...
Article 40-5 . OFF-STREET PARKING AND LOADING
On-street loading zones planning tool | UNCHAIN Project Services
Parking In A Loading Bay, Can I Park In A Loading Bay? driveJohnson's
It’ll Cost $3 to Park in Center City Loading Zones in New Program to ...
Illustration of the Locations of On-Street Loading Zones and Major ...
Loading zones | Sutherland Shire Council
Overhead photo of Student Loading Zone at a typical school Stock Photo ...
Parking and Loading Space Standards | PDF | Transport | Land Transport
Keep Loading Area Clear: Help the Driver Access Your Vehicle
Municode Library
Parking Lot Design TABLE OF CONTENTS Ingress and
1286 – Supplementary Regulations – Lawrence Park Township – Erie County, PA
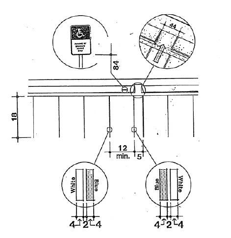
A Planning Guide for Making Temporary Events Accessible to People With ...
ADA Inspections Nationwide, LLC — ADA Compliancy
Philadelphia Parking Authority begins issuing tickets for new 'Smart ...
PPT - San Francisco Downtown Pick-Up and Delivery PowerPoint ...
Accessible Design in Public Housing: NYCHA Staff Training Program
Dumster Parking Lot Design Standards ENGINEERING BULLETIN 10 031
Freehold Township, Monmouth, NJ - Article XIV: Off-Str
An illustration of vehicular offloading | Download Scientific Diagram
Solebury Township, Bucks, PA
Chapter 19.125 OFF-STREET PARKING AND LOADING*
§ 656.607. Design standards for off-street, on-street parking and ...
Seattle Right of Way Improvements Manual: 10-Year Update ...
What is Off-Street Parking | Types of Parking Systems
Roads, traffic and parking | Sutherland Shire Council
Chapter 5 General Site and Building Elements: New Hampshire ...
Commercial Parking Requirements
Impact Loads From Vehicles {Accidental Actions} - Structural Basics
(Color online) Parking System with a One-Way Road, Two Off-Street ...
City of Canyon - General Requirements
§ 151.231 OFF-STREET PARKING AND LOADING.
1 Victoria Street: Transport and Servicing