Showing 118 of 118on this page. Filters & sort apply to loaded results; URL updates for sharing.118 of 118 on this page
The Mathematics of Pattern Prediction – MFI GROUP
MFI-guided current pattern analysis and verification via COMSOL ...
XRD patterns of the MFI membranes M1Si and M2Al together with the ...
SEM images of the top view and cross-section of the MFI membrane ...
MVD and MD of lung cancer according to MFI patterns. | Download Table
Membrane morphologies: (a) fresh MFI membrane surface; (b) MFI membrane ...
Characterization of the synthesized MFI-NSs. a) XRD pattern of the ...
Overall change in median MFI in each positive group pre-1: Initial MFI ...
The MFI Indicator: Peculiarities and Trading Strategies - R Blog ...
The Art of MFI Indicator Strategy Trading | MarketBulls
8: The MFI framework projection along a-, b-and c-direction. | Download ...
Signature of "Sustained-Orientation" : MFI value found for pellets made ...
Illustrations of the monoclinic MFI structure, viewed perpendicularly ...
XRD patterns of the MFI films synthesized in the secondary growth ...
MFI of the extruded rPP/MF composites tested at 230 • C. | Download ...
Characterization of prepared MFI crystals and MFI NSs. (A) SEM images ...
What is MFI I Concept Of MFI - YouTube
Distribution of MFI values in the reference period and the first-period ...
PPT - Final Report on Harmonization of MFI & MDR and Disposition ...
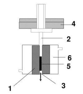
Schematic illustration of MFI test | Download Scientific Diagram
Comparative test. (a) MFI measurement; (b) result of the MFI; (c ...
MFI | PPTX
Mean MFI in the three different groups. The figure shows the MFI based ...
The evolution of the MFI (mass flow index) for the three geometry types ...
Test parameters for the MFI filtration and the optical measurement ...
Drawings of the MFI structure with 10-ring pores with a size between ...
MFI stresses, MFI models, and energy indexes at the MFI points ...
What is MFI|Concept Of MFI|MFI|MVR and MFI For Plastics Raw Materials ...
Some examples of implementation of MFI in different parts of the world ...
Building and validating the MFI model. (A) We identified genes with ...
MFI results. Examples of MFI images for all products tested, stressed ...
Schematic illustration of the formation and transfer of oriented MFI ...
MFI Indicator (Money Flow Index): complete guide
How is MFI measured? - LABZENIX
MFI Indicator
Relative MFI were calculated by division of the MFI for each sample ...
What is The MFI Formula? - Beo Forex Academy
Schematic representation of construction components of a MFI structure ...
What is the difference between high MFI and low MFI?
Mfi hexagon hi-res stock photography and images - Alamy
学习如何基于 MFI 设计交易系统 - MQL5文章
The Relationship Between MFI and Re-grind/Recycle Resin in Plastics | I ...
Layout of channels in the MFI structure. The following length ...
Chỉ số dòng tiền - MFI là gì? Cách vận dụng Money Flow Index (MFI) hiệu ...
MFI and MFR: What do they mean and why are they important? – Sitras
MFI in polymers: What it is and why it is key in processing - Avanzare ...
mfi - 3D model by gur0bi [347f229] - Sketchfab
MFI 测试的定义,功能和仪器 - FYI 测试仪
Is Pi Coin Price Repeating a Pattern That Led to a 76% Surge?
与 MFI 配合使用的最佳指标: 综合指南
mfi market in india: Latest News & Videos, Photos about mfi market in ...
The arrangements with different symmetries of a) MFI‐0, b) MFI‐1, c ...
a-f. Projections of the framework structure of MFI-type along [100 ...
MFI: Framework image
(a) Projection of MFI-type structure along [0 1 0], showing the ...
What Is the Portfolio Risk Formula and How Is It Calculated?
The proposed system model for MFI. | Download Scientific Diagram
流式分析总出错?MFI 知识是关键,速看! - 知乎
MFI波段交易指标 - FXprime中文社
聊一聊什么是市场促进指数(MFI) - 知乎
Testing Plastic Mfi: A Simple Guide | ShunPoly
图解MFI指标原理及实战应用(附选股公式
MFI指標怎麼幫你判斷市場買賣壓力? | EBC金融集團
Made For It
MFI: Main framework image
什么是资金流量指数 MFI? - 美国投资指南
Money flow Index (MFI)指標 - XQ官方部落格
Advanced Smart Money Concepts Indicator - Trading Strategies - 26 April ...
MoO3 on zeolites MCM-22, MCM-56 and 2D-MFI as catalysts for 1-octene ...
Relative Strength Index (RSI): What It Is, How It Works, and Formula
NGXASI Sustains Bullish Sentiment Amid More Opportunities – Invest Data
Cybersecurity Is Entering Its Most Dangerous Era: When Machines Attack ...
HYPE Price Surges 14% but Hidden Signals Warn of a Crash
Pepe Coin Price Poised for $0.000027 Breakout as Whales Open $3M Long ...
Why monitor trading volume? Key insights for smarter trading
Charger Cable Protector Guide: How to Choose & Use One
Rode PodMic USB White – Thomann UK
Rode PodMic USB – Thomann UK
best aesthetic wallpapers for laptop - TikTok Shop