Showing 120 of 120on this page. Filters & sort apply to loaded results; URL updates for sharing.120 of 120 on this page
Example of LDMA in repair state | Download Scientific Diagram
SPI PRS LDMA example does not compile with a custom board case
-Excerpt of an example assembly sequence | Download Scientific Diagram
PLC Example on Manufacturing Line Assembly
Assembly Language Examples A) Example Program Written In C. (b)
An Example of Translation of an ARM Assembly Program to MAIL Program ...
Example Of Assembly Process at Carol Santana blog
Develop a Power-Optimized BLE Design Featuring PRS, ADC, and LDMA | Lab ...
PPT - Lab 1 – Assembly Language and Interfacing PowerPoint Presentation ...
Assembly Language Data Movement Instructions MOV Instruction Move
Project M | LDMA
RDK X5 Aluminium Case Assembly Guide
Cover letter for youth assembly for afghanistan rehabilitation (yaar ...
Airoh Aviator3 Off Road Helmet Inner Lining Assembly And Disassembly ...
Assembly Instructions - Manualise
Tutorial/Mech Assembly | Honkai: Star Rail Wiki | Fandom
OPC UA Andon visualisation: synchronise assembly and logistics
Exampled aspects discovered by LDMA and LDA form Canon reviews ...
Figure 3 from Design and Implementation of LDMA for Low Earth Orbit ...
Figure 6 from A structured approach to assembly language programming ...
Exampled aspects discovered by LDMA and LDA form Nikon reviews ...
PPT - Chapter 7 Introduction to LC-3 Assembly Language PowerPoint ...
An assembly language has this instruction set: LDA | Chegg.com
(Color online) The LDA+U calculated band structure (top), the LDMA ...
(b) Given the following assembly code, LDAA #1 LDAB | Chegg.com
Examples of Assembly Language Explained
Introduction to x86 Assembly Programming (Beginner’s Guide) | by ...
FIG. S3: SmB6 LDA and LDMA + Σ band structure. | Download Scientific ...
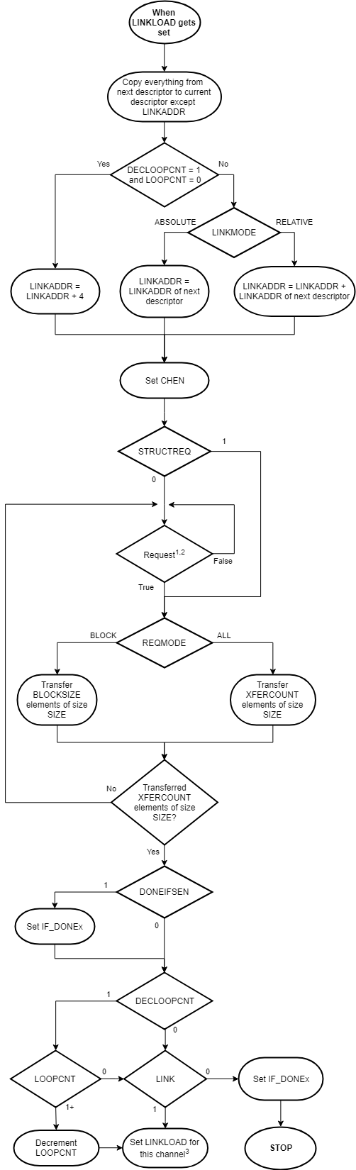
EFx32 Series 1 LDMA Flow Chart
Getting ready to take the LDMA - YouTube
10 Examples of Assembly Language You Must Know
What is Assembly language? Applications of assembly language
Basic Assembly Structure - Assembly Basic Syntax An assembly program ...
PPT - Chapters 6 & 7 Assembly Language Programming Examples on LC-3 ...
An example of typical mechanical assembly: a exploded diagram and local ...
Solved An assembly language has this instruction set: LDA | Chegg.com
What is Assembly Language in Computer - Binary Terms
SmB6 (a) and PuB6 (b) LDA and LDMA band structure on the small energy ...
Assembly Là Gì? Khám Phá Định Nghĩa, Ưu Nhược Điểm Và Ứng Dụng - Bùi ...
_ Coverage for lDMA Simulations | Download Table
ASSEMBLY AND DISASSEMBLY AN OVERVIEW AND FRAMEWORK FOR
What Does The Assembly Line Work at Sara Gardner blog
Optimizing Performance Through Efficient Memory Management In Assembly ...
Solved c) Given the following LMC assembly program: 00 LDA | Chegg.com
PPT - Chapter 2 Assembly Language Programming PowerPoint Presentation ...
What Are Assembly Drawings? Different types Explained! - EZIIL - Steel ...
5.1 Elements of Assembly Language | Architecture and programming of ...
Transformez votre espace grâce à LDMA. www.ldma.ca | LDMA
Design for Manufacturing and Assembly (DFM/DFA) | Step to Step Guide ...
What Is Design for Assembly? | Design for Assembly Software | Autodesk
Montréal | LDMA
LDMA | LinkedIn
LDMA Membership – MyLDMA
DFA Design for Assembly Complexity Index Calculator
Design For Assembly Process - Design Talk
PPT - Assembly Language Programming PowerPoint Presentation, free ...
Assembly Language Programming for Beginners: 8-bit Addition - GeeksforGeeks
SOLUTION: Assembly examples - Studypool
EBC | LDMA
Techniques For Optimizing Assembly Language Performance – peerdh.com
Assembly drawings.pdf
The Little Man Stack Machine
The system model of LDMA. | Download Scientific Diagram
PPT - ECE 425 PowerPoint Presentation, free download - ID:2525912
Photomechanic
【经验】 EFM32系列DMA控制器之LDMA与μDMA的区别比较
Overview of the data composition in LDMA. (A) The distribution of ...
disassembly - How to detect whether stack or alternative memory access ...
Centrifugal Pump with Impeller in Autodesk Inventor || Inventor ...
Tutorial for Crocheting a Purple Daisy Cardigan with Granny Squares ...
Assembler – Wikipedia
Design for Assembly: Principles, Application and Guidelines
Ada Computer Science
Figure 6-1: Memory Byte Addressing in ARM - ppt download
Iterative block lBDFE-lDMA receiver. | Download Scientific Diagram
Design for Assembly: The Cornerstone of Modern Manufacturing Efficiency ...
PPT - Correlations between nuclear masses, radii and E0 transitions ...
Algorithm 4 Lowest delay of machines and AGVs (LDMA) | Download ...
What are assemblies? Structure, examples & importance explained
PPT - Relief Association Investigation Presentation PowerPoint ...
PPT - Understanding What Users Need to Understand Us (and Our Data ...
Dfma lab module (1) | PDF
ARM Instruction Set Architecture (3)
Departments
Mechanical assemblies fundamentals - Create realistic motion in ...
Assembler Diagram
Structure of LDC coded DS-CDMA system with spreading codes. | Download ...
TI C6701 VLIW MIMD. - ppt download
PPT - The ARM Processor PowerPoint Presentation, free download - ID:3408715
PPT - ARM Introduction & Instruction Set Architecture PowerPoint ...
LDPC coded SCMA system with feedback | Download Scientific Diagram
The 1.0 release
PPT - Assembler Programming PowerPoint Presentation, free download - ID ...
MEMBERSHIP – MyLDMA