Showing 120 of 120on this page. Filters & sort apply to loaded results; URL updates for sharing.120 of 120 on this page
[ANSWERED] Which of the following is correct A dimensionally incorrect ...
[ANSWERED] The dimensionally incorrect equation among the following is ...
Which of the following is incorrect statement (1) A dimensionally c ...
Which of the following equations is dimensionally incorrect Where, t ...
[ANSWERED] Which among the following is dimensionally incorrect Here h ...
Choose the dimensionally incorrect equation (where symbols have their usu..
Numerically correct but dimensionally incorrect equations - Brainly.in
MAY DIMENSIONALLY INCORRECT EQUATIONS BE CORRECT? - YouTube
Which of the following equations is dimensionally incorrect ...
Which of the following equations is dimensionally incorrect ? Where t ...
Can Correct and Incorrect Worked Examples Supersede Worked Examples and ...
homework and exercises - A dimensionally correct/incorrect equation ...
What Is A Dimensionally Correct Equation at Sarah Gooding blog
[ANSWERED] Which of the following is incorrect statement O A - Kunduz
Is formula of displacement in nth sec dimensionally wrong?#physics # ...
A dimensionally correct equation may be wrong but a dimensionally wrong e..
The following object is dimensioned incorrectly. Identify the incorrect ...
Top 10 Dimensional Analysis PowerPoint Templates With Samples And Examples
A dimensionally correct equation _____be acorrect equation and a ...
Assertion: A dimensionally wrong or inconsistaent equation must be ...
Which of the following is dimensionally incorrect? (1) u = v-at (2) s-ut
Solved Which of the following equations are dimensionally | Chegg.com
Which of the following dimensional formula is incorrect - YouTube
Solved T12=X Dimensionally incorrect. Please check the type | Chegg.com
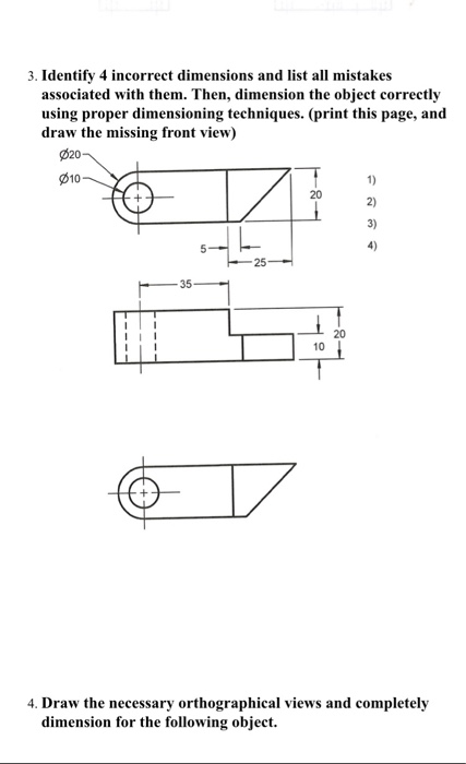
Solved 3. Identify 4 incorrect dimensions and list all | Chegg.com
Which of the following equations is dimensionally incorrect?Where \(t ...
[ANSWERED] Which of the following is incorrect statement Question Type ...
Why Is the Wave Equation Dimensionally Incorrect? • Physics Forums
Solved 9) If an equation is dimensionally correct, does this | Chegg.com
SOLVED: Identify 4 incorrect dimensions and list all mistakes ...
We summarize three types of incorrect examples: limitation of object ...
Solved Identify 4 incorrect dimensions and list all mistakes | Chegg.com
Solved Identify the statements as being either True or | Chegg.com
The following object has been dimensioned wrong. There are five ...
p4 7 the following object is dimensioned incorrectly identify the ...
Solved: The Following Object Is Dimensioned Incorrectly. I... | Chegg.com
10 Dimension Mistakes Which Cost You 2-5 Marks | Orthographic Drawing ...
Consider the incorrectly dimensioned object shown. There are 7 types of ...
Error Dimension at Tiffany Mora blog
Solved Physics 223 - Introduction - Homework #1 1) Identify | Chegg.com
Physics for Scientists & Engineers, with Modern Physics, 4th edition ...
Solved Points: 1 Identify the statements as being either | Chegg.com
Dimensional Analysis to Find Correctness of Physical Equation 1 ...
Answered: DIMENSIONAL ANALYSIS Determine whether each of the following ...
(Solved) - The following object is dimensioned incorrectly. Identify ...
dimensional_analysis.pptx | Physics | Science
SOLVED: Use dimensional analysis to determine whether the following ...
Question 16 The dimensional method is a very convenient way of finding th..
vol.8 PROBLEMS OF BENDING (DIMENSIONAL DEFECT AND ANGLE DEFECT ...
Why Is Dimensional Analysis Useful at Jessica Fly blog
Dimensional Analysis and Buckingham’s ∏-method | PPTX
Solved The following object is dimensioned incorrectly. | Chegg.com
Why Is Dimensional Analysis So Hard at Kathleen Flores blog
Solved The following dimensioned incorrectly. Identify the | Chegg.com
Basics of engineering drawing part 4 v4 | PPT
Defects in welding / Weld defects- A comprehensive presentation.pptx
What is Dimensionality Reduction? A Guide.
Lecture 1 - Measurement, Dimensional analysis | PPT
Dimensioning | PPT
Principles of physics | PDF
SOLVED: P4-6 The following object is dimensioned incorrectly. Identify ...
Dimensional Analysis Problem Solving - YouTube
Solved 10. Dimensional Analysis: Show that each of following | Chegg.com
Dimensional error in Z direction | Download Scientific Diagram
Dimensions in engineering_drawings | PDF
SOLVED: The following object is dimensioned incorrectly. Identify the ...
P4-7) The following object is dimensioned incorrectly. Identify the ...
Dimensional analysis | PDF
Dimensional Errors in Measured Points | Download Table
Answered: Determine whether each of the following equations is ...
Dimensional Analysis - Common Mistakes - YouTube
How to Solve a Dimensional Analysis Problem in 59 seconds! - YouTube
Impression errors presentation | PDF
[Solved] . P2-1) The following object is dimensioned incorrectly ...
4. The following object is dimensioned incorrectly. Identify the ...
Name: .50 DIA- P4-7) The following object is dimensioned incorrectly ...
Chapter 4 Imperfections: Point and Line Defects - ppt video online download
Solved \\[ \\begin{array}{l} A= \\\\ v_{\\text {max }}= | Chegg.com
Dimensional error of hollow parts in X direction | Download Scientific ...
Solved P7-4) The following object is dimensioned | Chegg.com
Illustrations of the different dimensional categories for defects. (a ...
Solved The drawings below are incorrectly dimensioned. The | Chegg.com
Solved P4-6) The following object is dimensions incorrectly. | Chegg.com
Solved P7-8) The following object is dimensioned | Chegg.com
Dimensional Analysis in ODEs and Insights
Data warehouse 18 logical dimensional model for data warehouse | PPT
The object in the figure below is dimensioned incorrectly. Please ...
Choose the wrong statement. (a) All quantities may be represented ...
PPT - Chapter 7 : Dimensional Analysis and Modeling PowerPoint ...
Solved Using dimensional analysis determine which of the | Chegg.com
Why Does Dimensional Analysis Work For Calculations Involving Rates at ...
Solved Give an example of a 4-bit error (where 4 bits are | Chegg.com
physics lecture about unitsLecture 1.pdf
GitHub - DevExpress-Examples/correct-and-incorrect-examples-of-using ...
Solved 5) The following object is dimensioned incorrectly. | Chegg.com
Dimensional Analysis.pptx
Physics Serway Jewett 6th edition for Scientists and Engineers | PDF
Solved List the dimensioning mistakes and then dimension the | Chegg.com
07 dimensionality reduction | PDF
Draw the figure below using scale 1:1. Identify wrong dimensions and ...
#4 Notes : METRIC AND MEASUREMENTS/ Basic Math Tools - ppt download
Solved The following object is dimensioned incorrectly. (a) | Chegg.com
BASIC DIMENSIONING DEFINITIONS Dimensions are given on drawings
Solved Consider the incorrectly dimensioned object shown. | Chegg.com
Dimensional Analysis - Engineersfield
Solved Dimensional Analysis Which one of the following | Chegg.com
LHS=RHS From principle of homogeneity, the given equation is dimensionall..