Showing 120 of 120on this page. Filters & sort apply to loaded results; URL updates for sharing.120 of 120 on this page
Differential Screw Micrometer Screw Thread Mechanism PNG, Clipart ...
Unbelievable! Destroyed Differential Thread Fixed in Minutes with ...
Difcon - The Differential Thread Connector - YouTube
Differential Thread Principle’s Application in Manual Drawing Device ...
Difcon – Differential thread connector – a multi purpose threaded fastener
Inch hydraulic differential sleeve external thread – internal thread ...
Repaired the broken threads of the differential box by making a thread ...
Adjustable Slot Die with Differential Thread Electrode Coater ...
Seco - Differential Screw for Indexables: 5/16-24 Thread | MSC ...
GTR1999 posted this great rebuild differential thread | Grumpys ...
Differential Thread Pitch , Free Transparent Clipart - ClipartKey
Using a Differential Screw as a Fastener - Home Shop Machinist
Monthly Mechanism: Differential Screws
Differential screw - Wikipedia
Screw Thread Inspection: Options, Dimensions and Decisions | Quality ...
Value Collection - Differential Screw for Indexables: 3/32" Hex Socket ...
Schematic representation of differential pitch screw | Download ...
Differential screw for fine adjustments of precision equipment | Ezy ...
What Are The Parts Of A Differential at Sandra Moody blog
Screwy Math For Super Fine Adjustments: Differential Screws | Hackaday
Engineering Drawing: Chapter 11 thread fastener
Typical mechanisms of the conventional 2-dof differential screw ...
What are DIFFERENTIAL THREADS #864 tubalcain - YouTube
What are differential roller screws and how do they compare to ...
Possible structures of the parallel type differential screw mechanism ...
Possible structures of the serial type differential screw mechanism by ...
Value Collection - Differential Screw for Indexables: 1/8" Hex Socket ...
Solved If the handle of the differential screw in Fig. 1.11 | Chegg.com
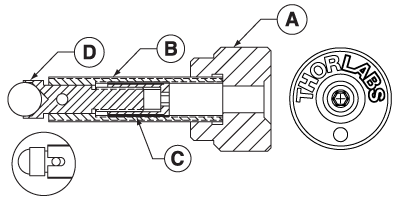
Thorlabs · Differential Adjuster Screws
Nut-Screw Differential Mechanism - mechamechanisms.com
Solved The following figure shows a differential screw jack | Chegg.com
TH-DAS25U - Differential Adjuster Screw, 25 µm/Rev Fine Adjustment, 1 ...
Super Fine Adjustment from Coarse Thread (Differential Motion) by ...
DM17-4 Differential Micrometer Head
Influence of Open Differential Design on the Mass Reduction Function
Differential screw | Ezy Mechanic - YouTube
Mechanic24h: A differential
Wear Prediction Method of Differential Planetary Roller Screws ...
Differential screw jack||Mechanical Advantage - YouTube
Ch 8.2 screw thread manufacturing | PPTX
LSD Maintenance: A Complete Guide to Limited Slip Differential Care ...
Made in USA 3/8-24 Hex Socket Differential Screw for Indexables 3/16 ...
Schematic images of the combinations of the parallel type differential ...
LEONTOOL 8 PCS Axle Spindle Thread Chaser Set, Thread Repair Kit High ...
Axle Thread Chaser at Jeffery Thompson blog
Differential Screw
Orion Motor Tech 10pc Axle Spindle Threading Set, Axle Thread Repair ...
Laserland PSM8 Series Differential Regulator Differential Head ...
DM Thread-Mount Differential Micrometer Heads
Solved Figure PL.9 If the handle of the differential screw | Chegg.com
Differential Screw - YouTube
“🔧 SAF AXLE THREAD RESTORATION STEP-BY-STEP PROCESS 🚚” - YouTube
Fine adjustment using a differential screw - YouTube
Differential Gear mechanics; bevel gear differential; automobiles - YouTube
EDP: 4360038 - Part Number: XNS48 - Series: Differential Screws
Differential screw mechanism
Differential Screw Calculator at Fred Joe blog
simple screw jack and differential screw jack - YouTube
Differential screw jack and problem solving - YouTube
Double screwing direction screw real-time limited slip differential and ...
Thorlabs - DM22 Differential Adjuster for Optic Mounts, 1/4"-80 Ext ...
Value Collection - Differential Screw for Indexables: 5/32" Hex Socket ...
Differential Drawing at PaintingValley.com | Explore collection of ...
Locking Differential Explained at Leona Skelton blog
Watch 9-Piece Axle Spindle Thread Chaser Set on Amazon Live
Solved Below shown is the differential type screw jack in | Chegg.com
TH-DAS110 - Differential Adjuster Screw, 25 µm/Rev Fine Adjustment, 1 ...
Differential screw mechanism - YouTube
UM RH/LH Differential screw
8pcs Axle Spindle Rethreading Tool Set Thread Chaser Repair with case ...
Nut-screw differential mechanism 2 - YouTube
Thread Pitch Thru Axle at Nancy Hansen blog
Don't Lose Your Aim // How credible Mechanic Repaired Damaged thread of ...
What is a Differential Screw? (Unlocking Precision in Woodworking)
Solved Problem (5) The following figure shows a differential | Chegg.com
Differential Lock Types at Jaxon Cockerill blog
Seco Tools 1/4-28 Differential Screw for Indexables Clamp Compatible ...
55-920-111 XNS35 DIFFERENTIAL SCREW - Mercado Regal
How To Construct A Custom | StarFish Medical
Engineering:Differential screw - HandWiki
Adjustment Screw Threads at Michiko Durbin blog
Three options of helical pairs. In addition to (b) the helical screw ...
Differential-Screw Precise Setting Mechanisim - YouTube
PPT - Precision Electro-Mechanical Periscope Mechanisms Overview ...
Types of Micrometers - 11 Types Explained with Diagram, PDF & Uses
MICROSCOPE COLLECTORS GLOSSARY
Thorlabs · 1/4"-80 Fine Hex Adjusters
Update on roller-screw actuator design and applications (with video and ...
The Best Sergers for Quilting: A Comprehensive Guide | Meissner Sewing
Nomenclature of Mechanical Threads- Diagram Of Threads
Micrometer - Types , Diagram , Parts , How to Read Micrometer
How to Design a Custom PCB Holder: Mechanical Considerations for a High ...
Principles, Parts, and Types of Pressure Switches
How to Fix CV Axle Threads (Honda Element) - YouTube
Kennametal - Scew for Indexable - 58451386 - MSC Industrial Supply
Anatomy of an Arch: Understanding the Structure
Bidirectional 14mm Right And Left Hand Tr14x40 Lead Screw from China ...
A 0.5mm (0.02") and lower pitch adjustment mechanism - adjustment range ...
Screw Drawing at GetDrawings | Free download
set for repairing drive shaft threads, 10 pcs - ak24parts.com
Axle Spindle Threading Set at Cody Wray blog