Showing 119 of 119on this page. Filters & sort apply to loaded results; URL updates for sharing.119 of 119 on this page
VeriFone M149-111-00-NAA COMMANDER SITE CONTROLLER - ARK Petroleum ...
Verifone's Commander Site Controller - YouTube
New Verifone Commander Site Controller
VeriFone Commander Site Controller :: Orion Merchant Solutions
Commander site controller | Back Office Partner Program | Verifone ...
Refresh Commander Site Controller Rev H for Topaz 310/410, Ruby2, Ruby ...
Verifone Commander Site Controller | Truist Petroleum
VeriFone Commander Site Controller Touch terminals Configuration manual ...
M149-111-00-NAA VERIFONE COMMANDER SITE CONTROLLER USED FULLY ...
NEW Verifone Commander Site Controller with Topaz POS complete system
Commander Site Controller Explained - YouTube
Verifone Commander Site Controller | Verifone
Verifone Commander Site Controller | eBay
New Verifone Commander Site Controller Gilbarco Wayne Tokheim | eBay
Verifone Commander Site Controller - YouTube
VeriFone Commander Site Controller - installation Guide, User manual ...
VERIFONE COMMANDER SITE CONTROLLER CONFIGURATION MANUAL Pdf Download ...
Verifone Commander Site Controller M149-111-00-NAA Rev. D02 *Untested ...
New VeriFone V300-00-16 Commander Site Controller & FCI Box for Ruby 2 ...
COMMANDER REFRESH SITE CONTROLLER REV H-M149-111-00-NAA
Verifone Commander Site Controller Voted CSP’s 2015 Best New Product ...
Verifone Commander Site Controller New And Unused
Rebuilt VeriFone V300-00-16 Commander Site Controller & FCI Box for ...
Verifone V300-00-16 Retail Commander Site Controller for sale online | eBay
Commander Site Controller Verifone - Horizontal Png,Secure Transaction ...
VERIFONE COMMANDER SITE CONTROLLER CONFIGURATION MANUAL Pdf Download.
Commander Site Controller Day One Morning Quiz Flashcards | Quizlet
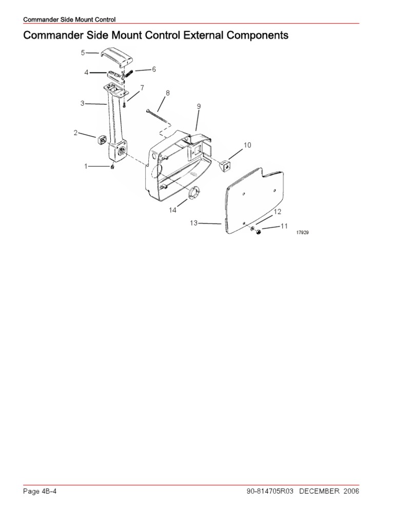
Commander Side Mount Control Manual | PDF | Nut (Hardware) | Screw
Quicksilver 16903A20 Commander 2000 Mercury Outboard Side Mount ...
COMMANDER DUO - Lighting and Fan Controller - YouTube
COMMANDER 2000 Side Mount Remote Control
Best Buy: CORSAIR Commander PRO Hardware Controller Black CL-9011110-WW
Quicksilver - Side Mount Control Commander Series Console | SupplyMarine
COMMANDER DUO Lighting and Fan Controller – ARGB and iCUE LINK Hybrid
Hori announces Fighting Commander Octa Pro wireless controller for ...
Fighting Commander Controller - Xbox Series X – Game District Elgin
Corsair Commander pro Controller
Customer Reviews: CORSAIR Commander PRO Hardware Controller Black CL ...
Commander Controller - Rugged Video - Airborne Video Systems
Commander Controller Specific Archives - Remote Control Technology
Microsoft Sidewinder Strategic Commander RTS Game Controller USB PC ...
Take complete control of your site with Verifone’s Commander Site ...
M149-111-00-NAA Reb / 705-0151 / FR-M149-111-00-NAA VeriFone Commander ...
Verifone Commander System | SPATCO
Fillable Online Commander: Site Controller - VASC Training Fax Email ...
How to Onboard a Commander to C-Site Management - YouTube
BATTERY PACK FOR COMMANDER SITE CONTROLLER-BPK149-001-01-R
Verifone | Commander Fleet
Professional Serial and IP Joystick Controller with Touchscreen
Verifone Commander Factory Certification - Rancho Cucamonga CA - JF ...
Amazon.com: HORI Tactical Assault Commander Grip KeyPad and Gamepad ...
Commander 2 (2 wire constant pressure motor controller)
Brand New Professional PTZ Joystick Controller With Touch Screen ...
Universal Advanced Serial and IP PTZ Joystick Controller with 5'' Touch ...
Motor Controller Thruster Commander: Your Key to Precise Control ...
5 Tips To Play Control In Commander | And 5 Control Commander ...
MICROSOFT Sidewinder Strategic Commander Controller, Computers & Tech ...
Build your own Can-Am Commander - Can-Am Off-Road
CORSAIR COMMANDER DUO Lighting and Fan Controller: Everything You Need ...
Professional Serial and IP PTZ Joystick Controller with Touchscreen
Commander Control System - Basic Display Navigation - YouTube
Company Commander MTG - Warhammer 40,000 Commander #113 (English ...
Universal Advanced Serial and IP PTZ Joystick Controller with POE
Microsoft Sidewinder Strategic Commander Driver
New Commander NXT - ShuttleWagon
RRS Achieves Verifone EF Certification - Red River Software
PPT - 2013 Verifone customer forum PowerPoint Presentation, free ...
Verifone ux400 [Revel pos documentation, manuals]
That’s right, we made it official at NACS – Verifone has integrated its ...
Verifone Announces Horizon Program for its Petroleum and
B&K Equipment
VeriFone Increases Speed and Versatility of C-Store Management with New ...
Verifone Launches New Solutions for Convenience Stores and
Patrol Commander® Dual | FORCE America
2025 Can-Am Commander: Expedition Side-By-Side Vehicle