Showing 119 of 119on this page. Filters & sort apply to loaded results; URL updates for sharing.119 of 119 on this page
Repetition Flowchart The Repetition Control Structure - Flowchart Example
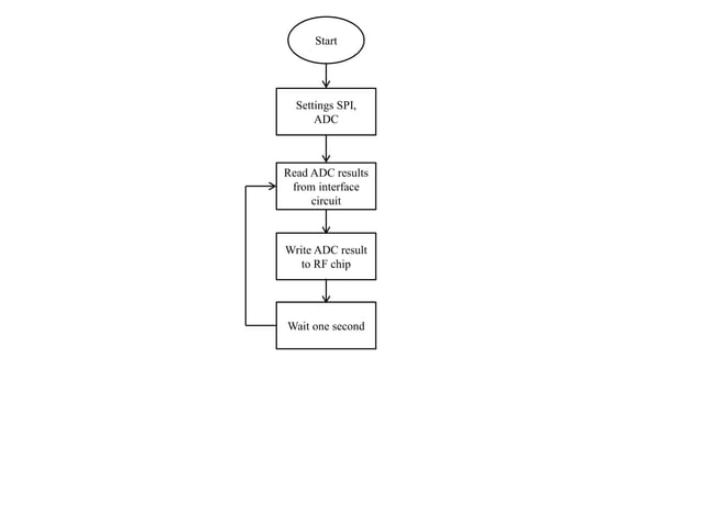
Control circuits - repeating flowchart instructions using Circuit ...
Sample flowchart analysis for frequency response in electronic circuit ...
Flowchart example for Repeat Loop. The repeat loop will always execute ...
Using Flowchart to Help Students Learn Basic Circuit Theories Quickly
Flowchart Repetition Drawn Example | Flowcharts Tutorial for Beginners ...
Flowchart to obtain simulated parameters in equivalent circuit elements ...
Flow chart circuit
Flowchart | PPT
How to add repetition structure to the Raptor Flowchart - TestingDocs
Flowchart Example: Repetition in a Flow | Flowchart Template
Counter Flow Chart The Importance Of A Flowchart And Process When
PPT - Code Visual to Flowchart PowerPoint Presentation, free download ...
Flow Chart of Circuit Diagram | Download Scientific Diagram
How to add repetition structure to the Raptor Flowchart | TestingDocs
FLOWCHART AND ALGORITHM SAMPLE PROBLEMS FOR LOOPS/REPETITION STRUCTURE ...
Flowchart with Repetition or loops (Computational Thinking and Design ...
Flowchart of the basic circuit. | Download Scientific Diagram
For Loop Repetition Statement Animated Flowchart - YouTube
flow chart Equivalent circuit Method Fig. 3: flow chart superposition ...
Flowchart - Introduction and Designing Tools | PPT
Introduction to flowchart | PPTX
Flow chart circuit | PPT
Repetition with consultation mode flowchart Source: My own paper ...
Samples of Flowchart | Technical Flow Chart | Flowchart Components ...
Circuit Flow Diagram
What Is A Flowchart In C Programming And C++
Circuit Breaker Manufacturing Process at Isabelle Odonovan blog
3. Programming Basics – Computer Science by Example
Circuit Flow Diagram Flow Diagram
1 Flow Chart lgorithm : 1. Stop 2. Initialization the circuit 3. Check ...
PPT - Flowcharting Basics: Sequences, Selections, and Loops PowerPoint ...
PPT - The Logical Structure of Algorithms PowerPoint Presentation, free ...
What Is Repetition in Flowcharts? A Few Examples to Understand this
The C for loop repetition program control programming practice with ...
PPT - Flowcharts PowerPoint Presentation, free download - ID:587788
THE REPETITION CONTROL STRUCTURE
PPT - CMPD144: Programming 1 PowerPoint Presentation, free download ...
.:BEYOND:.: Repetition Structure
PPT - Introduction to Flowcharting PowerPoint Presentation, free ...
Flowchart: Sequential, Conditional, Repetition
Algorithm Designs - Control Structures
1057 Ch05 Dfd 2
PPT - Algorithm for Student Final Grade and Passing Status PowerPoint ...
Flowcharts: Selection vs. Repetition | Flowcharts Tutorial for ...
PPT - Introduction to Repetition Structures: Looping Concepts ...
SOLUTION: Sample flowcharts using selection and repetition control ...
How to Make a Flowchart: Beginner’s Guide (& Free Templates) - free ...
PPT - Introduction to Computers in Mechanical and Aerospace Engineering ...
PPT - Week 4: Control Structures - Repetition PowerPoint Presentation ...
Repetition Statements in Pythion (with Code Examples) - Teachoo
9 Computer Repeating Steps in Flowcharts - YouTube
Flow chart programming | PPTX
P2PU | HSC SDD - Planning and designing software solutions | Sequence ...
Repetition
Flow examples
PPT - ICS103: Programming in C 5: Repetition and Loop Statements ...
PPT - Chapter 2: Problem solving techniques PowerPoint Presentation ...
1057-CH05
PPT - Repetition PowerPoint Presentation, free download - ID:4457647
Repeating Process Flow Charts
PPT - Flowcharting PowerPoint Presentation, free download - ID:3801948
PPT - The Program Development Cycle: Problem Solving and Programming ...
Programming algorithms and flowchart.ppt
BCS Online Lectures: Lecture 5 - Concept of Algorithm and Flowcharts
Introduction To Problem Solving - Notes - My CS Tutorial — CBSE Skill ...
PPT - Week 6 The Repetition Structure PowerPoint Presentation, free ...
PPT - Introduction To Flowcharting PowerPoint Presentation, free ...
A Visual Guide to Understanding Electrical Circuits: Schematic Diagrams ...
PPT - Repetition-Counter control Loop PowerPoint Presentation, free ...
7.2: Flowcharts - Engineering LibreTexts
PPT - JavaScript: Control Statements II PowerPoint Presentation, free ...
5. Repetitions — 0HV120 Reader 2022 documentation
Circular flow chart with arrows and chevrons indicating process or ...
CMPE 108 Algorithms and Flowcharts 1 Software Development
Complex Flowchart: Meaning, Types &14 Free Examples
Repetition Function Charts
C Programming Flow Chart
PPT - Mastering Loops: The Ultimate Guide to 'For' Statements ...
Flow chart of repetition rate experiment. | Download Scientific Diagram
PPT - Repetition PowerPoint Presentation, free download - ID:2221100
PPT - Algorithms and Flow Charts PowerPoint Presentation, free download ...
PPT - Control Structures - Repetition PowerPoint Presentation, free ...
(a) I -to-S phase retrieval repetition algorithm flow chart, with the ...
Flow Charts (Part 3) - How to Draw a Repetition Flow Chart | Episode 3 ...
Flow Chart Tutorial #4 : Repetition Structure | ගැලීම් සටහන් | Step by ...
Control Flow as Graph (5 - Repetition)
PPT - Pendalaman Materi Conditional dan Repetition ( Pengulangan ...
Iteration or Repetition Control Flow Method - YouTube
Control structure Repetition Part 1 01204111 Computers and