Showing 119 of 119on this page. Filters & sort apply to loaded results; URL updates for sharing.119 of 119 on this page
(a) Schematic image of the superlattice PCM of structures (II) and ...
1: Structures used in research to enhance thermal conductivity of PCM ...
, The schematic structures of three kinds of composite-PCWs (case1: PCM ...
Typical structures and local atomic motifs for PCM materials. a) The ...
(PDF) Measuring capacitance of various types of structures
Cross-sectional structures of PCM cells. (a) Cross-sectional structure ...
Electric field distribution in in-plane structures (a) and in sandwich ...
Various device structures of phase change memory (PCM). (a) Reset ...
Schematic of a PCM device in (a) low resistance state, characterized by ...
Schematic diagram of the composite wall with optimized PCM panel ...
Schematic diagram of the PCM's two typical structures (After Zhang et ...
A PCM cell structure. | Download Scientific Diagram
Figure 1 from Simulation and Analysis of Analog Circuit and PCM ...
Schematic structure of the PCM cell (a) and the testing circuit (b) for ...
Capacitance Formula and Its Impact on PCB Design
Schematic diagram of a multi-functional PCM composite with anti-liquid ...
Electrochemical Characterization of the PCM PAR in Two-Electrode System ...
Schematic diagram of PCM module in horizontal arrangement. | Download ...
Structure of PCM with metal framework | Download Scientific Diagram
PCM Frame Structure | PDF | Multiplexing | Sampling (Signal Processing)
(a) The basic structure of a PCM cell, (b) different states of a PCM ...
Structure of TS-PCM composed of volatile TS and nonvolatile PCM ...
A plot of the increase in the thermal capacitance of 3% PCM-ECC and ECC ...
Capacitance Diagram
Schematics of microstructure formation mechanism for (a) PCM and ...
The surface current distribution of this PCM structure on the upper ...
Structure of PCM storage unit. | Download Scientific Diagram
Schematic diagram of the cooling and heating cycle function of the PCM ...
A Novel Molecular PCM Wall with Inorganic Composite: Dynamic Thermal ...
Composite PCM slabs including: (a) series, (b) parallel and (c) matrix ...
(a) Schematic architecture of the stacked PCM wherein at least two ...
(a) Layout diagram of the PCM storage tank and (b) the elemental unit ...
a Schematic of a T-shaped PCM cell. b Endurance results of the PCM cell ...
(a) Schematic diagram of the experimental T-shape PCM cell. (b) I–V and ...
Equivalent Capacitance Model for (a) Device structure-1, (b) Device ...
Geometry of a PCM structure with an array of gammadion-shaped ...
A PCM cell and a PCM array | Download Scientific Diagram
(a) Typical structure of PCM devices. (b) Schematic representation of ...
New structure PCM | Download Scientific Diagram
Basic characteristics of PCMs [12]: (a) Schematic of PCM cells in a row ...
Capacitance Capacitor
Understanding the Structure of a PCM System: Block Diagram Explained
Structure of the PCM system cycle of the first level with aggregate ...
(a) Basic PCM cell structure for PCM memory elements where the heat for ...
PCM in building structure: (a) wall with PCM; (b) floor with PCM; (c ...
(a) Schematic representation of the PCM structure investigated in this ...
Capacitance compensation circuit. (a) SS structure. (b) SP structure ...
A schematic diagram showing the structural incorporation of PCM or ...
Capacity and configuration characteristics of the PCM components ...
Device Structure and Electrical Measurement: (a) Schematic of the PCM ...
The structure of a PCM cell and its equivalent circuit | Download ...
a) Temperature change of PCM device according to the electrical pulse ...
Schematic of the simulated PCM structure, including an amorphous ...
(a) Conventional PCM architecture in which two adjacent memory cells ...
(Color online) (a) The schematic diagram of the PCM cell.... | Download ...
Chemical structures of paracetamol (PCM) (1) and 4,4′-bipyridine (44BP ...
A Summary Review on Experimental Studies for PCM Building Applications ...
Schematic structure diagram of the PCM cell. The TE and BE represent ...
Use of PCM in Computer Systems We need
PCM storage tank model structure. | Download Scientific Diagram
Summary of the performance of PCFs with different porous structures in ...
Capacitance–frequency characteristics of capacitor structures prepared ...
Illustration describing resistance (R) and capacitance (C) elements in ...
Classification of PCM storage concepts (IEA ECES 2010) | Download ...
(a) Schematic diagram of the geometry under consideration with PCM core ...
The PCM unit structure parameters | Download Scientific Diagram
Tantalum Capacitors: Types, Applications & PCB Design
1,058 Semiconductor Conductivity Images, Stock Photos & Vectors ...
Experimental and Numerical Investigation of Macroencapsulated Phase ...
What's Inside a Capacitor
(a) Comb capacitor structures. (b) Approximated parallel line model for ...
PPT - Nanoscale memory cell based on a nanoelectromechanical switched ...
Comprehensive Guide to MIM, MOM, and MOS Capacitors: Key Differences ...
Premium Vector | Basic structure of a capacitor capacitor construction ...
Capacitors in Physics: Storage, Function, and Applications
High-Breakdown and Low-Leakage 4H-SiC MOS Capacitor Based on HfO2/SiO2 ...
Phase Change Material (PCM)
(PDF) Development and Validation Of Resistance-Capacitance Model (RCM ...
Investigating the Effects of PCM-Integrated Walls on Thermal ...
Example of PCM-based thermal management of electric battery (adapted ...
Structure of capsulated PCM. | Download Scientific Diagram
a Schematic diagram and b working mechanism of the proposed ST/PCM/TEG ...
PPT - Phase Change Material (PCMs) PowerPoint Presentation, free ...
PPT - Chapter 5. Multiplexing PowerPoint Presentation, free download ...
Structure of the organic PCM. | Download Scientific Diagram
Polarized VS Non Polarized Capacitor: A Comprehensive Guide
Capacitance-voltage curves of Al/HfO 2 /native SiO 2 /p-Si capacitor ...
Multifunctional PCMs with vertically aligned structures. a1) Schematic ...
Device configuration for deep-level transient spectroscopy (DLTS ...
Cell structure of PCM. | Download Scientific Diagram
Premium Vector | Ceramic capacitor structure electronic component ...
Computer motherboard capacitor function and classification
C–V hysteresis characteristic curves of two types of capacitor ...
A Novel Approach to Development of a Thermal Capacitor | Electronics ...
What is multi-layer ceramic capacitor ( MLCC ) ? Types, working ...
Ceramic Capacitor- Definition, Construction, and Applications
(A) GCD curves at various current densities for PCM‐2. (B) Variation of ...
Structure and Working principle of encapsulated PCM. | Download ...
Designed structure of PCM-PCHE. | Download Scientific Diagram
Capacitor In Computer Architecture at Sheryl Graham blog
Schematical view of the standard setup for electrical characterization ...
The four rows, top to bottom, are for PC, PCM, PCS, and PCMS. The ...
(A) Top view of the PCM, (B) bottom view of the PCM, and (C) structure ...
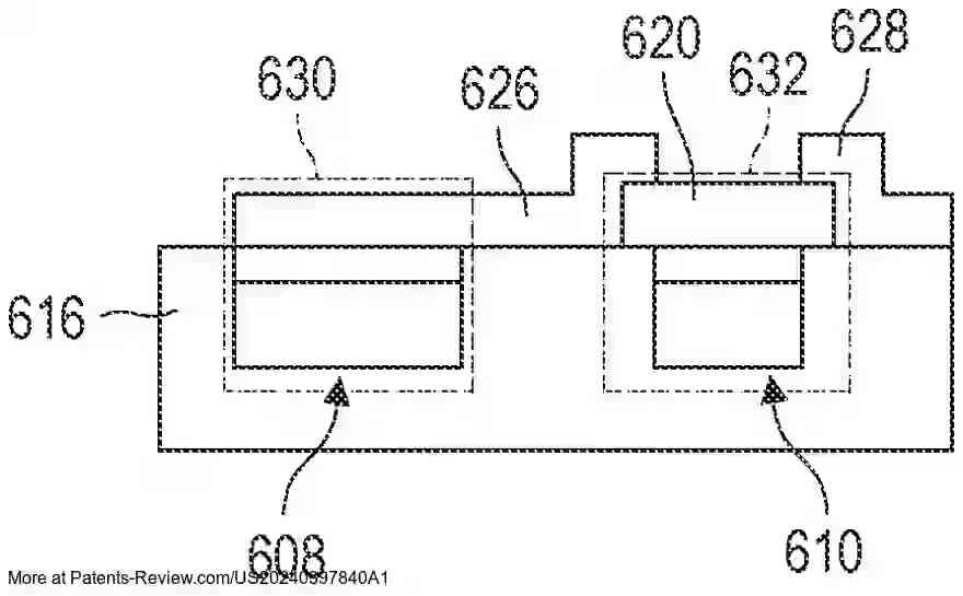
STRUCTURE AND FABRICATION OF PCM-BASED CAPACITOR BANK - Patent Application
(a) Schematic of 10x10 phase change memory (PCM) cell array is shown on ...
(a) Schematic illustration and (b) temperature distribution of e-PCM ...
(A) Schematic of a composite PCM; (B) electrical conductivities of ...
Capabilities of Multi-Layer Organic Packaging | Microwave Journal
How to Use Flux When Soldering Electronics
Computer Capacitors: What They Are and How They Work