Showing 120 of 120on this page. Filters & sort apply to loaded results; URL updates for sharing.120 of 120 on this page
An axis parallel cuboid is a cuboid whose sides are | Chegg.com
Moment of inertia of a cuboid parallel to one of its faces (repost with ...
Moment of Inertia about axis through body diagonal of a Cuboid ...
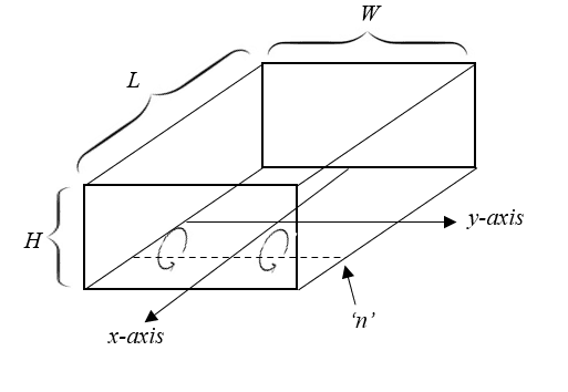
Find the moment of Inertia of a cuboid along the axis as shown in the ...
Find the moment of Inertia of a cuboid along the axis as shown in the
Parallel Axis Theorem
Parallel Axis Theorem: Definition, Formula, Proof & Examples
Parallel Axis Theorem - Detailed Explanation & Examples
EXAMPLE 4 Find the moment of Inertia of a cuboid along the axis as shown
Moments of Inertia & Parallel Axis Theorem - Wize University Statics ...
Parallel Axis Theorem - Tesla Rati
Parallel Axis Theorem, Proof, Definition, Formula, Examples
3x5x7 Axis Cuboid Tutorial - Part 1๐ - YouTube
Find the equation of the parabola whose axis is parallel to x - axis and
3x3x9 Axis Cuboid Tutorial ๐ ๐ช๐ผ - YouTube
Cuboid - Definition, Shape, Formulas, Properties, Cuboid Net, Examples
Rectangular cuboid geometric definition and coordinate system ...
Rotating Cuboid โ GeoGebra
geometry - Compute Corners of Cuboid In 3D - Game Development Stack ...
Straight Edges On Cuboid at Jo Diggs blog
Cube and Cuboid - Shape, Properties and Formulas
Cuboid - Shape and Properties - GeeksforGeeks
Cuboid Calculator
Cube and cuboid | PPTX
Cuboid - Definition, Shape, Formulas, Properties, Examples
Define cuboid at Algebra Den
How Many Edges Of A Cuboid Meet In A Vertex
Cuboid Shape Definition, Formulas & Examples - Lesson | Study.com
cuboid presentation.pptx
What Is A Cuboid Different Nets Of A Cube โ GeoGebra
Cube and Cuboid - 3D Shapes Explained for Kids | Definition, Facts ...
Cuboid with its surface elements for four sides shown representing the ...
Schematic of a one-quarter cuboid HTS bulk model after element meshing ...
5 Show that the moments of inertia of a uniform solid cuboid with sides ...
Cuboid
Cuboid โ Definition, Examples | EDU.COM
Cuboid permanent magnet model. The magnetized direction is along z ...
Cuboid | Definition, Shape, Area, & Properties
Two opposite corners of a cuboid in the 3D space. | Download Scientific ...
Is It a Cube? Common Visual Perception of Cuboid Drawings
Cuboid and Cube - Study Page
Cube and Cuboid โ Shape, Formulas, Properties & Examples
Unit3-Lesson4Pt2-The Cuboid
Cuboid โ Definition, Properties, Formulas and Examples โ Big Ideas Math ...
Cuboid Black and White Stock Photos & Images - Alamy
Faces Edges And Corners Cuboid at Alan Koester blog
Solved Consider a cuboid shown below with uniformly | Chegg.com
Z Axis Math
The adjoining figure shows a cuboid.(a) How many sets of parallel line s..
Parallelepiped vs. Cuboid โ Whatโs the Difference?
How Many Faces Does a Cuboid Have
(a) Schematic of the alignment axis with an alignment cuboid, (b ...
Cube and Cuboid - GeeksforGeeks
3d Shape Cube Cuboid
๐ Cuboid Shape Examples | Cuboids Poster | Twinkl | Maths KS1
Opposite faces of a cuboid are _________ in area
geometry - Perspective image of a cuboid - Mathematics Stack Exchange
The construction of a cuboid in three successive steps | Download ...
trigonometry - Calculating angle in a cuboid - Mathematics Stack Exchange
Cuboid Calculator - with all steps
geometry - Determining the dimensions of a cuboid from a perspective ...
PPT - Object Intersection PowerPoint Presentation, free download - ID ...
The GNU 3DLDF Cuboids Page
Cubes and Cuboids | Definition, Properties, Formulas Explained
cuboid2img - Project cuboids from 3-D world coordinates to 2-D image ...
Cuboid: Definition, Shape, Properties, Formulas, and Examples
Cartesian Coordinate System Examples - LearnerMath.com
Vector illustration of 3D cartesian axes (x, y and z axis) drawing a ...
3D Coordinate Geometry - Equation of a Plane | Brilliant Math & Science ...
Planes of Symmetry | Edexcel GCSE Maths Revision Notes 2015
The figure shows the three principal orientations of the cuboid, the ...
Geometry - Cuboids
Lengths And Angles Inside Cuboids โ QIZR
multicuboid - Create geometry formed by several cubic cells - MATLAB
PPT - Mastering Coordinates: Plotting Explained Step by Step PowerPoint ...
3D ShapesโComplete List with Free Printable Chart โ Mashup Math
WBBSE Solutions For Class 10 Maths Mensuration Chapter 1 Rectangular ...
Solved: Diagram 7 shows a composite solid, formed by a combination of a ...
Video: Parallel-Axis Theorem for an Area
Cuboids (CS1101)
Basic Theory | SpringerLink
propertiesof2d3dshapes-21010703a1456.ppt
The Cube
geometry - Calculation of the volume and surface of a cuboรฏd knowing ...
Schematic diagram of cuboid-plates particles aligned with { } planes ...
Solved 3. In a cuboid, a force F=106N is exerted at point A | Chegg.com
What Are Perpendicular Lines On A Cube
Full article: A multi-objective route planning model based on genetic ...
Solved 3. In a cuboid, a force F=106 N is exerted at point A | Chegg.com
PPT - ERT 146 ENGINEERING MECHANICS PowerPoint Presentation, free ...
Frontal view of right foot at calcaneo-cuboid and talo-navicular joint ...