Showing 114 of 114on this page. Filters & sort apply to loaded results; URL updates for sharing.114 of 114 on this page
auto injector release mechanism simulation
Auto Injector | Auto Injection
Buy Auto Injector at Jackson Steinfeld blog
Metal Parts For Drug Delivery and Auto Injector Devices | Advanex Medical
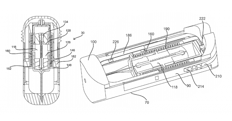
FIG. 16-VALVE AND INJECTOR OPERATING MECHANISM
Injector Mechanism | PDF
Auto Injector Free Shipping | Spark Hormone Therapy
Mounting the Auto Injector
Syringe plunger sensing mechanism for a medical injector - Eureka | Patsnap
Patent Issued for Innovative Auto-Injector Mechanism - SnackSafely.com
Syringe Injector Device at Gregory Butcher blog
SPRINGS: THE KEY TO ADVANCED AUTOINJECTOR AND PEN INJECTOR PERFORMANCE ...
Multi-dose Autoinjector - Commercially Available - Pen Injector ...
Patent Issued for Innovative Auto-Injector Mechanism | Thumb drive ...
Schematic illustration of spring-powered needle-free injector ...
Drive mechanism for an autoinjector - Eureka | Patsnap
Final image of the automated pneumatic injector with all systems and ...
Mechanism of Action in Clinical Settings
One-way clutch mechanisms and injector devices - Eureka | Patsnap ...
Automatic Injector | PDF
Front-loading medical injector adapted to releasably engage a syringe ...
Improved Structure of Plunger Injection Mechanism - Eureka | Patsnap
Peugeot 408 1.6 16V HYbrid 225 Bonnet lock mechanism 2022 9834494180 ...
Future Engineers :: Mars Medical Challenge :: Gallery :: Auto-injector
Exploring The Basics Of Autoinjectors | SHL Medical
How Bowl Feeders Work in Autoinjector Manufacturing - RNA Automation
Coil Compression Springs for Auto-Injector Syringes
(a) Schematic of a spring-driven autoinjector and (b) the motion of ...
(a) Schematic of a spring-driven autoinjector. (b) The administration ...
Development of a new high-performance autoinjector | Springboard
Injection Devices showcasing a modern auto-injector with ergonomic ...
Engineering - Shore
THE INTERFACE BETWEEN PREFILLED SYRINGE AND AUTOINJECTOR – A ...
Innovative Auto-Injector Mechanism: Compact and Reliable
STREAMLINING THE TESTING PROCESS FOR AUTOINJECTOR DEVICES | ONdrugDelivery
Autoinjector schematic (see online version for colours) | Download ...
Autoinjector Design and Development | NOVO Engineering
The interface between prefilled syringe and… | PA Consulting
6: Schematic of a spring-actuated autoinjector device instrumented with ...
Auto-injector schematic | Download Scientific Diagram
Injection System | Plustech
Unlocking Precision: Autoinjector Springs - Newcomb Spring Corp.
AUTO-INJECTOR: INFO AND LIVE DEMONSTRATION [CC] - YouTube
Innovative Autoinjectors: Enhancing Drug Delivery with Spring-Loaded ...
Analysis: Trends and Leading Practices for Developing Autoinjector ...
Let the patient decide: an autoinjector with patient-settable injection ...
Springs For Your Autoinjector | RPK Medical
Autoinjector patented technology retrieval search results - Eureka ...
Vibratory Bowl Feeder for Autoinjectors | RNA Automation
Fully assembled spring-driven autoinjector with a prefilled syringe ...
EP3000498A3 - Autoinjector - Google Patents
Safety Mechanisms in Auto-Injectors: Analysis of Needle Stick ...
How the autoinjector changed the world - Kindeva
A CHECKLIST FOR AUTOINJECTOR DESIGN - ONdrugDelivery
Structure Design and Working Characteristics Analysis of Direct-Drive ...
Through Thick and Thin: Modelling the Delivery of Non-Newtonian ...
Medical Device Assembly Automation - IMC Intertech
Koronawirus coraz bliżej :( (Strona 45) - Forum Kobiet - NETKOBIETY.PL
Springs and Stamped & Bent Parts for Autoinjectors | CPHI Online
Drive assembly for an autoinjector and a method of assembling an ...
AUTO-INJECTION DEVICE_word文档在线阅读与下载_文档网
Auto-Injector patented technology retrieval search results - Eureka ...
Auto-Injector Products Assembly Lines 1ml and 2.25ml Pfs - Medical ...
Fuel Injectors - MechanicsTips
Auto-injector - Eureka | Patsnap
Automatic Injection Device with Needle Insertion - Eureka | Patsnap
Coil compression springs for auto-injector syringes
Autoinjector with retracting needle - Eureka | Patsnap
AUTO-INJECTION DEVICE_word文档在线阅读与下载_免费文档
autoinjector having an inner plunger that disengages from the outer ...
Semi-Automatic autoinjector assembly equipement ? - YouTube
Bioequivalence for Complex Delivery Systems: Inhalers, Patches, and ...
Does Orforglipron change the future of obesity treatment? | The ...
Iran central bank moves to calm currency market with $500 million ...
Automatic feeding device of plunger piston core of automobile fuel ...
Haitian introduces X-Injection Deep-AI for injection molding - News at ...
Glutathione Injectable Treatments For Signs Of Aging
Autism Spectrum Disorder- A Promising Regenerative Breakthrough of ...
South Carolina Girl Reunited with Doctors Who Saved Her After Severe ...
CVE-2026-4662 – jet-engine Proof of Concept - Atomic Edge