Showing 119 of 119on this page. Filters & sort apply to loaded results; URL updates for sharing.119 of 119 on this page
A system block diagram illustrating how the analog switch array is used ...
MT8816AE Integrated Circuit Chip ISO-CMOS 8 x 16 Analog Switch Array ...
MT8808 Datasheet - ISO-CMOS 8 x 8 Analog Switch Array | Mitel Networks ...
MT8816AP - 8 x 16 Analog Switch Array IC - PLCC-44 SMD Package ...
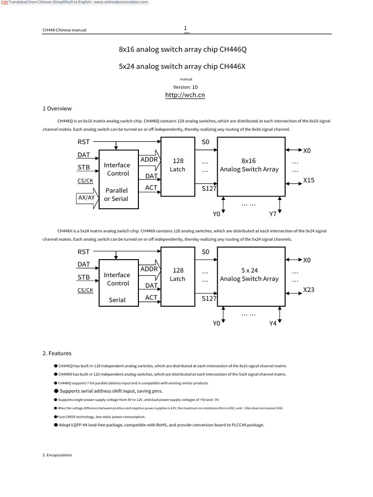
8x16 analog switch array chip CH446Q 5x24 analog switch array chip ...
ADG2108 I2C® CMOS 8 × 10 Unbuffered Analog Switch Array with Dual ...
MT8812 Datasheet - 8 x 12 Analog Switch Array | Mitel Networks Corporation
MT8814 Datasheet PDF - ISO-CMOS 8 x 12 Analog Switch Array | Mitel ...
MT8816AP 8 x 16 Analog Switch Array IC (SMD PLCC-44 Package) at ₹ 580 ...
ESP8266 / ESP8266 mit MT8808 8x8 Analog Switch Array als VC20/C64 ...
MT8816AP 8 x 16 Analog Switch Array SMD IC
I C CMOS 8 × 10 Unbuffered Analog Switch Array with Dual/Single Supplies
MT8816 Datasheet - 8 x 16 Analog Switch Array | Zarlink Semiconductor
CH446Q Analog Switch Array Manual | PDF | Power Supply | Electronic ...
IC0324 - TC9163N High Voltage Analog Function Switch Array DIP-28 (TOSHIBA)
MT8816 analog switch array Arduino - YouTube
IC0325 - TC9164N High Voltage Analog Function Switch Array DIP-28 (TOSHIBA)
SD5400 Datasheet PDF - Quad FET Analog Switch Array
MT8816 datasheet - ISO-cmos 8 X 16 Analog Switch Array
Features: 8 X 4 Analog Switch Array | PDF
5pcs/lot 28pins TC9164AN High Voltage Analog Switch Array high quality ...
1PC/lot 8 x 8 Analog Switch Array MT8808AE DIP28 high quality | eBay
TC9162 Toshiba analog function switch array Datasheet
CPC7514ZTR Datasheet | Analog Switch Array IXYS
5PCS TC9164AN DIP-28,HIGH VOLTAGE ANALOG FUNCTION SWITCH ARRAY | eBay
2PCS TC9164N IC DIP-28 HIGH VOLTAGE ANALOG FUNCTION SWITCH ARRAY | eBay
MT8816AE (Zarlink) - ISO-CMOS 8 x 16 Analog Switch Array
2 PCS MT8816AP PLCC44 MT8816 Analog Switch Array | eBay
5PCS MT8816AP ISO-CMOS 8 x 16 Analog Switch Array PLCC44 | eBay
1PCS TC9273N-007 ANALOG SWITCH ARRAY ICs DIP28 | eBay
1PCS TC9164AF HIGH VOLTAGE ANALOG FUNCTION SWITCH ARRAY | eBay
Pair Mitel Semiconductor MT8804AE CMOS 8x4 Analog Switch Array IC Chip ...
TC9274F Datasheet PDF - ANALOG SWITCH ARRAY | Toshiba
1PCS TC9162 HIGH VOLTAGE ANALOG FUNCTION SWITCH ARRAY | eBay
CPC7514 | Quad Analog Switches Series High-Voltage Analog Switch ICs ...
a) Schematic of the analog part of the switch matrix circuit. b ...
Analog switch vs. digital switch ICs
16x16 Analog Crosspoint Switch Schematic | Programmable Anal… | Flickr
Analog Switch Vs Mosfet at Rickey Park blog
200-MHz 16 x 16 Video Crosspoint Switch IC | Analog Devices
voltage - Switch array (crosspoint) and DC biasing of audio signal ...
ADV3227 Datasheet PDF - Analog Devices 16 x 16 Analog Crosspoint Switch ...
16x16 Analog Crosspoint Switch using two MT8816's - YouTube
Analog Devices 32 x 16 Video Crosspoint Switch 170MHz, ADV3202ASWZ | RS
Unbuffered Analog Crosspoint Switch ICs - ADI | Mouser
Quad Analog Switches Series High-Voltage Analog Switch ICs | Littelfuse
MT8816 Datasheet (ISO-CMOS 8 x 16 Analog Switch Array) | Mitel Networks ...
Traditional analog switch circuit | Download Scientific Diagram
XSD5000 Datasheet - High-Speed DMOS Quad FET Analog Switch Arrays ...
CD4066 / 74HC4066 Quad Analog Switch CMOS circuits
Analog Switch | Analog Devices
CD4016BE CD4016 4016 100-pA, 20-V, 1:1 (SPST), 4-Channel Analog Switch ...
Analog Button Array
Figure 1 from High-Speed DMOS FET Analog Switches and Switch Arrays ...
Switch Array Stack | Details | Hackaday.io
Analog Switch – Electronic Circuit Diagram
2 Channel SPDT Analog Switch Module - Explained and Demonstrated ...
XSD5000 Datasheet PDF (High-Speed DMOS Quad FET Analog Switch Arrays ...
schematics - How do I interpret this analog switch logic diagram ...
74HC4066 Quad analog switch CMOS Datasheet and example circuits ...
How to specify and use analog switches
Analog Switches and Muxes for Sensor Arrays | DigiKey
Analog Switches _ SPDT, DPDT, DPQT – AiT Semiconductor
Basic knowledge of analog switches | Analog | Maker Pro
Analog Switches
ADG2188 Datasheet and Product Info | Analog Devices
MAX4550 Datasheet PDF (Clickless Audio/Video Analog Crosspoint Switches ...
Complementary MOS or CMOS, CMOS as Analogue switch
MT8816AP Analog Crosspoint Switches at ₹ 700 | Digital Matrix Switchers ...
Analog Switches Multiplexers Can Share Resources | DigiKey
Switch Matrix basic element The switch matrix consists of several basic ...
MITEL MT8816 (Analog switch array)
How to Use TS3A5018 analog switch: Pinouts, Specs, and Examples ...
Analog Switches | How it works, Application & Advantages
Build CMOS Logic Functions Using CD4007 Array - ADALM2000 [Analog ...
How Phased Array Antennas Work | Nuts & Volts Magazine
(a) An array of selectable cross-points, (b) switching node elements ...
Tutorial: Analog Matrix Computing (AMC) with Crosspoint Resistive ...
EVAL-ADG2128EBZ Analog Devices, Evaluation Kit, ADG2128YCPZ, Analog ...
SD5400CY datasheet(1/3 Pages) CALOGIC | High-Speed DMOS Quad FET Analog ...
Analog Switches in Keyboards Explained - ProSettings.net
AD8104 Datasheet and Product Info | Analog Devices
Equivalent circuits of an analog-switch. (a) and (b) represent the ...
Understanding Tree and Crosspoint Matrix Architectures
mosfet - How to control physical buttons - Electrical Engineering Stack ...
Photo-image of the simplified 48-33 selector-switching device. The ...
KIC9162AF Datasheet PDF ((KIC9162AN/AF - KIC9164AN/AF) High Voltage ...
Sa55b4265da334435a5a854bf05f614350.png
L6405
S6ab86993702c4e5d807b6bd9536c9aabn.jpg
(a) is a schematic of the channel architecture. Significant wires are ...