Showing 119 of 119on this page. Filters & sort apply to loaded results; URL updates for sharing.119 of 119 on this page
EIND 364 Problem Formulation Examples - EIND 364 Problem Formulation In ...
Homework Assignment #2 - Physics 364 – Problem Set 2 Due January 23 1 ...
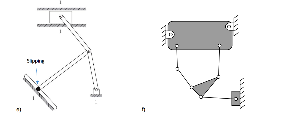
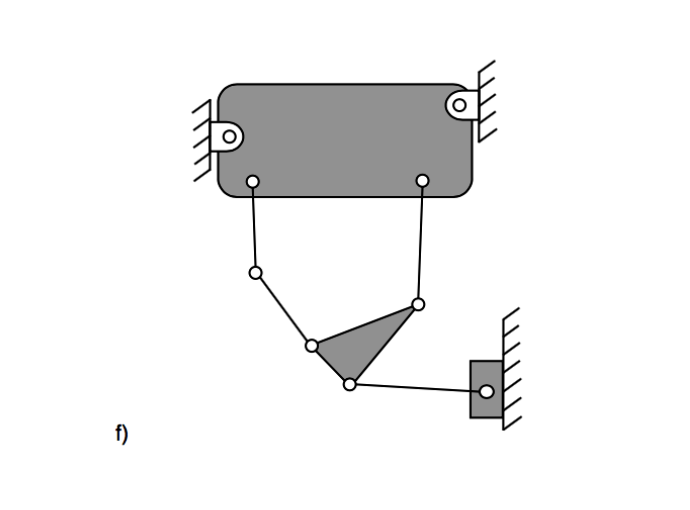
Solved MAE 364 Problem Set #3 Find the mobility of each | Chegg.com
GRhw1.pdf - Physics 364 - Problem Set 1 Due Wednesday January 15 1. 20 ...
HW9 Solutions.pdf - HW 9 of AAE 364 Problem 1. 60 Points Consider a ...
2018 364 Problem Set 5 solution.pdf - CEE 364: Engineering Hydrology ...
econ 364 hmk 5.docx - Econ 364 Problem Set 5 - Due Wednesday March 27 ...
🚜 Eicher 364 NC lift problem - YouTube
HW2 - HW 2 Problems - AAE 364 Control Systems Analysis Problem Set 2 ...
EXAMPLE PROBLEM 1 CALCULATING PRESSURE A child weighs 364 \mathrm{N} and
HW3 - HW 3 Problems - AAE 364 Control Systems Analysis Problem Set 3 ...
International 364 BD-154 engine, problem part 1 - YouTube
Solved (1 point) Consider the initial value problem y" + 364 | Chegg.com
Problem 364 | Project Euler | 欧拉计划
Chpt14b Sols - practice problem solutions - 1 5 x y 4 942 8 364 24 8 8 ...
Шахматная задача 364 (Chess Problem 364) - YouTube
Factors of 364 - Find Prime Factorization/Factors of 364
Divisibility Rule of 364 | Divisibility Test of 364
Factors of 364 - Prime Factorization, Factor Pairs & Factor Tree
Square Root of 364 - How to Find Square Root of 364? [Solved]
MATH 364 supplemental problems - Math 364: Supplemental Problems ...
364 and Level 5 | Find the Factors
What is 364 squared?
Leetcode Weekly Contest 364 || Problems A, B, C || 2864, 2865, 2866 ...
K-th Nearest | AtCoder Beginner Contest 364(ABC 364) Problem D | Binary ...
Learn Multiples of 364 | Multiples of three hundred sixty four [ ️]
Table of 364 | 364 Times Table | Multiplication Table of 364
Problem 364: notdivisible
Final Problem Solving MMW - PROBLEM-SOLVING ANSWERS [MMW] SET OF 14 ...
364 hi-res stock photography and images - Alamy
Is Alkaline phosphatase 364 high, normal or dangerous? What does ALP ...
SOL Assign#4 Math 364 2017.pdf - Assignment #4 Solutions Math 364 ...
ECO 364: International Trade Problem Set 1 Detailed Solutions - Studocu
ECO364 F23 Pset 4 Solution - ECO 364: International Trade Problem Set 4 ...
Factors of 364 - Calculatio
ECO364 F23 Pset 4 - problem set - ECO 364: International Trade Problem ...
126 Number 364 Royalty-Free Images, Stock Photos & Pictures | Shutterstock
Table of 364 - Multiplication Table of 364 | Testbook.com
Green Number 364 isolated white background Stock Photo - Alamy
CET 364: Problem with polling method - YouTube
ECO364 Problem set 3.pdf - | Course Hero
3D 364 number font alphabet. White 3D Number 364 with yellow background ...
140+ Number 364 Stock Photos, Pictures & Royalty-Free Images - iStock
Go Geometry Problem 364. Obtuse triangle, Congruence, Circles, Diameter ...
Solved MGT 364 - Operations Management Case \#4 - | Chegg.com
Estimate or Guess the Square Root of 364
Number 364 vector font alphabet. Yellow 364 number with black ...
Problème 364 – Quand Bigflo et Oli apparaissent… – MathsAMoi.com
46 364 Icons Images, Stock Photos, 3D objects, & Vectors | Shutterstock
О числе 364 – триста шестьдесят четыре, математические свойства ...
Math 364 Midterm - Math364 Fall 2013 Midterm 1 Principles of ...
#364 | Problem Ink - Cargo Pant 7 single colors 12 colors + … | Flickr
Long Addition Problem 364.85+729.21: Step-by-Step Video Solution ...
364 Area Code: A Closer Look At Kentucky's Western Expansion
Problem #3.png - 3 plain points A. B. C . passing point E 2 - 3 4 plane ...
ECO364 Problem Set 1.pdf - | Course Hero
sol hw2 math 364.pdf - 17 MATH 364 Fall 2015 Solutions to Assignment #2 ...
ECO364 Problemset4.pdf - Eco364 problem set 4 Trade and gain from ...
Get a 364 area code local phone number for Bowling Green, KY
HW10 - These are relevant coursework - AAE 364 Control Systems Analysis ...
alfabeto de fonte de vetor de 364 números. número 364 com vetor de ...
Problem Set - Module 1 | PDF
ME-364 Metrology and Quality Assurance Complex Engineering Problem ...
364 Text Effect and Logo Design Number
Numberblocks 364 blocks by jeanpaulfelix on DeviantArt
364 Number Design Vector Graphic T: เวกเตอร์สต็อก (ปลอดค่าลิขสิทธิ์ ...
Ro7eg9fh26 - math problem - 1) 68 × 59 = 2) 55 × 26 = 3) 53 × 30 = 4 ...
Angel Number 364 Meaning: Real Transformation | 364 Angel Number
364 | Numberblocks big Wiki | Fandom
364 find the thevenin equivalent circuit at terminals a b for the ...
Exam 364 .pdf - Question: Solve the following problems by hand. When ...
LeetCode Weekly Contest 364 - Maximize the Total Height of Unique ...
364
Understanding Reservoir Storage Changes: Hydrology Problem Set | Course ...
SOL Assignment 3 364 2018.pdf - Assignment # 3 Math 364 Fall 2018 ...
364 day left neon light animated 23981063 Stock Video at Vecteezy
Warning: Your graphics device has encountered a problem - #364 by ...
International 364, BD-154. Problem part 2 - YouTube
Pset 3 solutions - This is the solution of the third problem set ...
ECO364 Problem Set 2.pdf - | Course Hero
Solving the Cybersecurity Data Problem – Padraic O’Reilly – BSW #364 ...
set 4 solution.pdf - ECO 364: International Trade Problem Set 4 ...
eco364 problem set 1 - ECO364H1 PROBLEM SET 1 2. Mean value of exporter ...
summarizes the many levels of iteration that take 364 place in solving ...
Area Code 364 - Map, time zone, and phone lookup
364 | Graffiti Style | Text Effect Generator
Number 364 Red On White Background Stock Illustration 1631410141 ...
'Problem Error: G can not be set, expected shape (100, 1) but provided ...
Configuration problems · Issue #364 · zigbee2mqtt/hassio-zigbee2mqtt ...
Solved: Solve the following problems using the Polya's four-step ...
ECO364 F23 Pset 2 - Practice problems - ECO 364: International Trade ...
I began my problem-solving journey on April 1, 2024. Over the course of ...
Solved 6.11 Calculate the value of the horizontal force P | Chegg.com
Angel number 364-Meaning & Symbolism - Mind Your Body Soul
Prime factors of 364. Prime factors decomposition of 364. Factor tree ...
Solved Find the prime factorization for 364, and enter your | Chegg.com
Engineering Hydrology: Evaporation Study & Aerodynamic Method | Course Hero
364) Adv: Now we've got a problem. )) - YouTube
Vývoj bojů (364. den): Problém s municí mohou mít i Rusové. Prigožin na ...
Math364.pdf - | Course Hero
Form 364-AP1 - Fill Out, Sign Online and Download Printable PDF, Rhode ...
Hp Printer Problems Ink System Failure at Emma Spyer blog
Boolean Circuit Problems: Expressions and Digital Circuit | Course Hero
Aprosoja entra na Justiça para suspender pedágios da BR-364 em RO | G1
MATH364 HW4Solutions 2020.pdf - Solutions to Homework Assignment 4 ...
273 - The Four Types of Problems